Laptop - Widescreen Laptop User Manual
Manuals
Brands
Rackmount Solutions Manuals
Projector
CYBER VIEW RP-W819QD
11
12
13
14
15
16
17
18
19
20
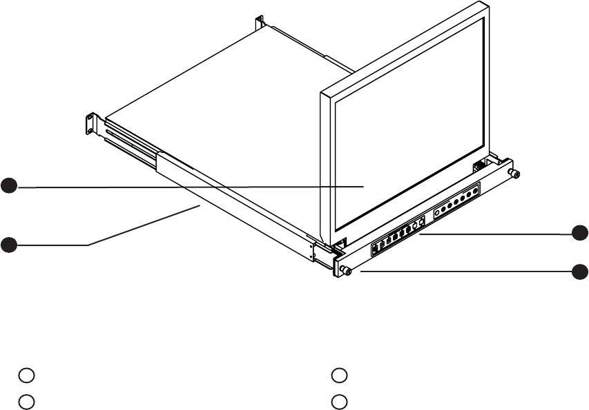
3.2 Structure Diagram
Chapter 3
P. 1
1
RP-W1
19QD
LCD interchangeable module kit
“One Man” Installation Slides
1
1
2
2
LCD + Quad display membrane
Thumb Screw
3
4
3
4
1
...
...
13
14
15
16
17
...
...
48