Manual
Manuals
Brands
Rapid-Air Manuals
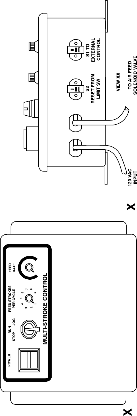
Control panel
MULTI-STROKE CONTROL
1
2
3
4
5
6
7
8
9
10
9
1
...
...
7
8
9
10