Operating instructions

Follow the installation instructions furnished with the vent
damper package. The plug-in connector can also be
used with power venters. Refer to the specific installation
instructions supplied by the power vent manufacturer.
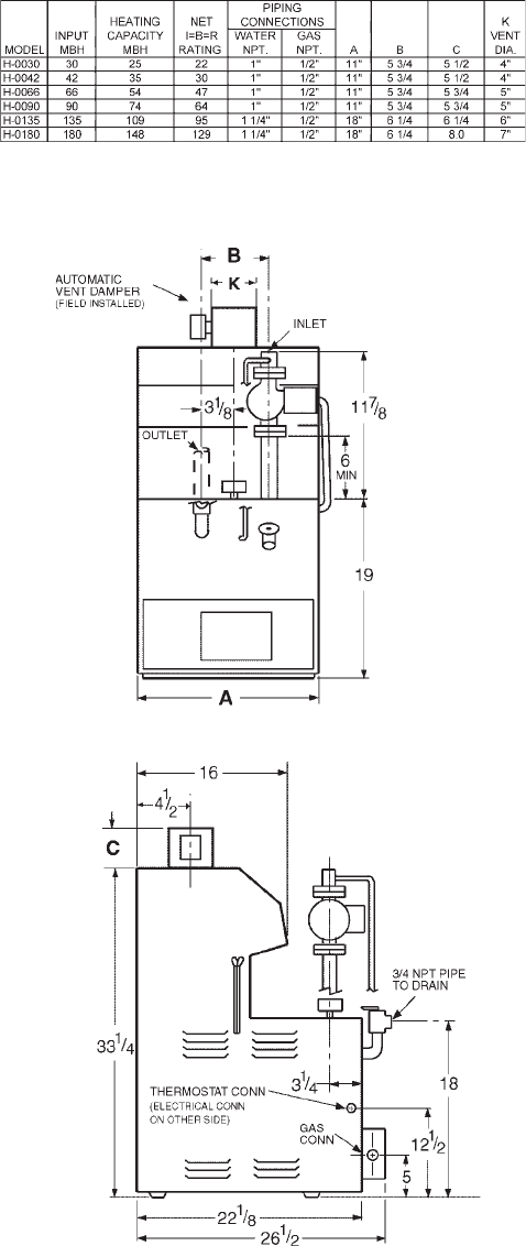
SPECIFICATIONS AND DIMENSIONS
3
Fig. #8978.1
RECEIVING EQUIPMENT
On receipt of your equipment, visually check for
external damage to the carton. If the carton is damaged,
it is suggested that a note be made on the Bill of Lading
when signing for the equipment. Remove the boiler from
the carton, and if it is damaged, report the damage to
the carrier immediately. Be sure that you receive the
number of packages indicated on the Bill of Lading.
Claims for shortages and damages must be filed
with carrier by consignee.
Purchased parts are subject to replacement only
under the manufacturer's warranty. Debits for defective
replacement parts will not be accepted and defective
parts will be replaced in kind only per our standard
warranties.
When ordering parts, you must specify Model and
Serial Number of boiler. When ordering under warranty
conditions, you must also specify date of installation.
Raypak recommends that this manual be re-
viewed thoroughly before installing the boiler. If
there are any questions which this manual does not
answer, please contact your local Raypak repre-
sentative.
GENERAL SPECIFICATIONS
Raytherm hydronic boilers are design certified and
tested under the requirements of the American National
Standard, ANSI Z21.13. Each boiler has been con-
structed and pressure tested in accordance with the
requirements of Section IV of the American Society of
Mechanical Engineers Code, and factory fire tested.
The boilers are designed for indoor installation with a
built-in drafthood, and a built-in sub-base for combustible
flooring. Models are available with standing pilot,
or with intermittent ignition device (I.I.D.). The boilers are
equipped with the following components: water circula-
tion pump, pressure relief valve, temperature/pressure
gauge, adjustable high limit switch, drain valve, fast
response temperature sensor, 40 VA transformer, pump
relay, vent thermal switch, flame roll-out switch, and
redundant combination gas valve. Two-stage gas valve
(50% firing on first stage) is standard on models
H-0090, H-0135 and H-0180.
The automatic ignition models and some standing
pilot models are provided with a plug-in connector that is
compatible with the Honeywell D80D vent damper. Simi-
lar type vent dampers made by other manufacturers, and
design certified by a nationally-recognized testing
agency, under the ANSI Z21.66 standards, may also be
used.










