Emulation Pod User's Manual

Table Of Contents
( 64 / 78 )
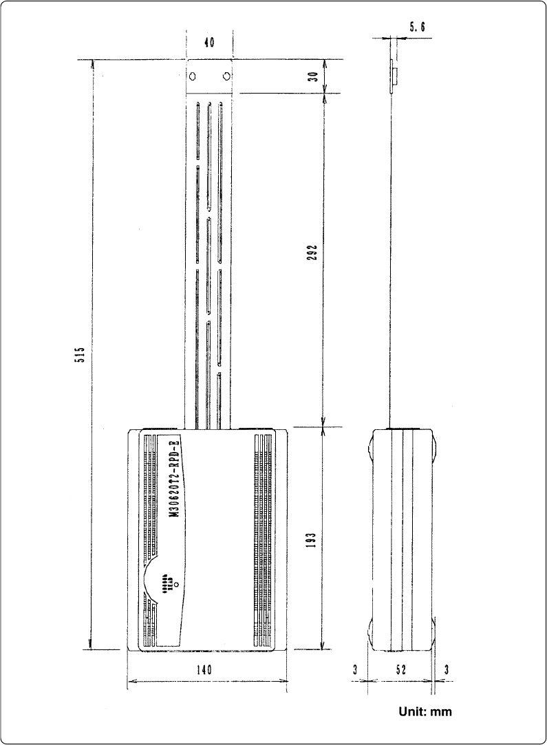
Figure 5.13 External dimensions of M30620T2-RPD-E
5.6 External Dimensions
(1) External Dimensions of Emulation Pod