Emulation Probe User's Manual
Table Of Contents
- Preface
- Contents
- 1. Precautions for Safety
- 2. Preparation
- 3. Setting Up
- 3.1 Selecting Clock Supply
- 3.2 Using an Internal Oscillator Circuit Board
- 3.3 Using the Oscillator Circuit on the Target System
- 3.4 Using the Internal Oscillator Circuit
- 3.5 Setting Switches
- 3.6 A-D Conversion Bypass Capacitor
- 3.7 Connecting the PC7501
- 3.8 Connecting the Target System
- (1) Connecting to a 100-pin LCC Socket
- (2) Connecting to a 100-pin 0.65-mm-pitch Foot Pattern (Part 1)
- (3) Connecting to a 100-pin 0.65-mm-pitch Foot Pattern (Part 2)
- (4) Connecting to a 100-pin 0.65-mm-pitch Foot Pattern (Part 3)
- (5) Connecting to a 100-pin 0.5-mm-pitch Foot Pattern (Part 1)
- (6) Connecting to a 100-pin 0.5-mm-pitch Foot Pattern (Part 2)
- (7) Connecting to a 100-pin 0.5-mm-pitch Foot Pattern (Part 3)
- (8) Connecting to a 144-pin 0.5-mm-pitch Foot Pattern
- 4. Usage
- 5. Specifications
- 6. Troubleshooting
- 7. Maintenance and Guarantee

( 63 / 76 )
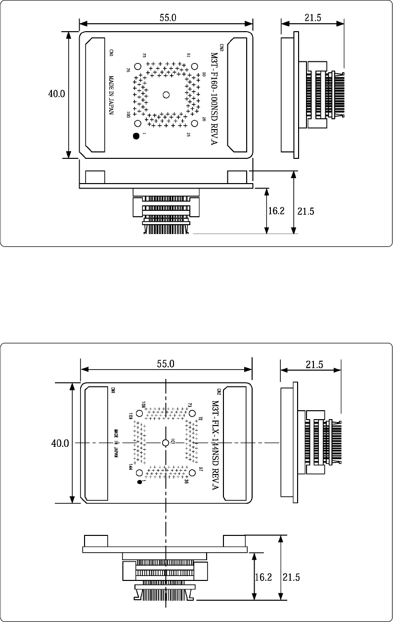
Figure 5.5 External dimensions of pitch converter board M3T-F160-100NSD
(4) External Dimensions of Converter Board M3T-FLX-144NSD
Figure 5.6 shows the external dimensions and the sample foot pattern of the pitch converter board
M3T-FLX-144NSD for 144-pin LQFP (144P6Q).
(3) External Dimensions of Converter Board M3T-F160-100NSD
Figure 5.5 shows the external dimensions and the sample foot pattern of the converter board M3T-
F160-100NSD for 100-pin LQFP (100P6Q).
Figure 5.6 External dimensions of pitch converter board M3T-FLX-144NSD
Unit: mm
Unit: mm










