Hardware manual

23
4.2. PWM description.
Pulse Width Modulation (PWM) is a method of a current or voltage signal regulation. It bases on
a change of the width with constant amplitude.
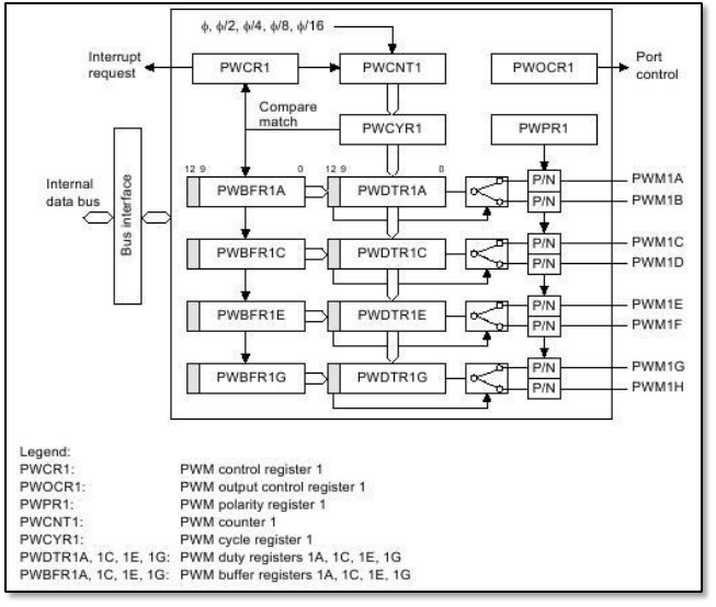
H8S/2638 provides two 10-bit PWM channels with maximum 16 pulse outputs. Each channel has
10-bit counter and cycle register. Duty and output polarity can be set up for each output
independent. Additionally there are five operating clocks and we can choose one of them. What
is important, all PWM channels can work as I/O ports. Because we didn't use this property in our
Eurobot project I'll not present details about it.
Now, before I describe how PWM works, I'll introduce all necessary registers needed for the
PWM. Schematics can be found on the following two pictures:
Fig. 4.2-1. PWM channel 1 in H8S/2638.