User Manual
Table Of Contents
- Contents
- About Your Water Heater
- Water Heater Application
- Model Type
- Mains Pressure
- Water Heater Operation
- Reduced Hot Water Flow When Heat Exchanger Is Cold
- Gas Boosting For A Solar Water Heater
- How Hot Should The Water Be?
- Hotter Water Increases The Risk Of Scald Injury
- Safety
- Warnings
- Precautions
- General Maintenance
- Minor Maintenance Every Six Months
- Major Service Every Five Years
- Circulated Hot Water Flow And Return System
- Going On Holidays
- To Turn Off The Water Heater
- To Turn On The Water Heater
- Frost Protection
- Draining The Water Heater
- How Do I Know If The Water Heater Is Installed Correctly?
- Victorian Customers
- Does The Water Chemistry Affect The Water Heater?
- How Long Will The Water Heater Last?
- Temperature Control
- Temperature Control – Standard
- Temperature Control – Deluxe
- Deluxe Controller Functions
- Deluxe Controller
- Voice Prompt And Operating Tone
- Assistance Call Function
- Temperature Settings – Deluxe Controllers
- Temperature Adjustment – Deluxe Controllers
- Kitchen Controller – Deluxe
- Bathroom Controllers – Deluxe
- Bath Fill Function
- Bath Fill Function – Brief Guide
- Bath Fill Function – Explanatory Notes
- Turning Off Bath Fill Function During Its Operation
- Notes on the Bath Fill function:
- Opening a Second Hot Water Tap During Bath Fill Operation
- Early Completion of Bath Fill Operation
- Interrupting Bath Fill Operation
- Operation of the Bath Fill function whilst a Deluxe Controller has priority
- Water Supplies
- Save A Service Call
- No Display On The Controller
- Cold Water From The Hot Tap
- Water Is Too Hot Or Not Hot Enough
- Reduced Hot Water Flow When Heat Exchanger Is Cold
- No Water From The Hot Tap
- Water Flow Fluctuates
- Gas Booster Operating Too Frequently
- Fan Continues To Run After Water Heater Operation Stops
- Clouds Of White ‘Vapour’ From The Flue Terminal
- Pressure Relief Valve Discharging
- Error Code
- Higher Than Expected Gas Bills
- Installation – Water Heater
- Installation Standards
- Water Heater Application
- Water Heater Location
- Installation Within A Covered Area
- Pipe Cover
- Recess Installation
- Frost Protection
- Mains Water Supply
- Hot Water Delivery
- Circulated Hot Water Flow And Return System
- Reducing Heat Losses
- Water Temperature Diagrams
- Technical Data
- Dimensions – Water Heater
- Dimensions – Standard Controllers
- Dimensions – Deluxe Controllers
- Typical Installation – Outdoor Location
- Connections – Plumbing
- Connections – Electrical
- EZ LINK System Dual Installation
- Installation – Controllers
- Commissioning
- Draining The Water Heater
- Rheem Continuous Flow Gas Water Heater Warranty – Australia and New Zealand Only
- 1. The Rheem Warranty – General
- 2. Terms Of The Rheem Warranty And Exclusions To It
- 3. What Is Covered By The Rheem Warranty For The Water Heaters Detailed In This Document
- 4. Entitlement To Make A Claim Under This Warranty
- 5. How To Make A Claim Under This Warranty
- 6. The Australian Consumer Law

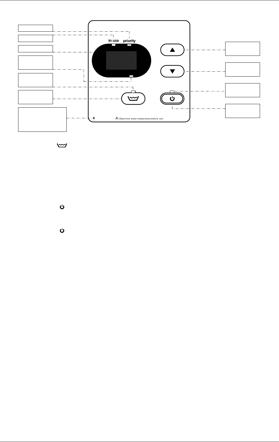
TEMPERATURE CONTROL – STANDARD
13
STANDARD CONTROLLER
Note: water volume ( ) button, water volume operating light and water volume symbol are on the Kitchen
controller only.
SILENCING A CONTROLLER – STANDARD
The controller emits a sound whenever a button is pressed. This sound can be turned off to provide silent
operation.
To turn off the sound:
Press the on / off ( ) button, to deactivate the controller (on / off operating light is off).
Press and hold the up () button.
Press the on / off ( ) button, whilst the up () button is pressed.
The sound for the controller is deactivated. Repeat this procedure on the other controllers if you wish to
deactivate their sound. To restore the sound, repeat this procedure.
Rheem
X 10L
°C
X 10L
88
°C
X 10L
88
°C
X 10L
88
°C
in use light
priority light
water volume
operating light
display panel
water volume
symbol
water volume
button
controller type
K = Kitchen
B1 = Bathroom 1
B2 = Bathroom 2
up ()
button
down ()
button
on / off
operating light
on / off
button