Installation Guide
Table Of Contents

Manuel de Série VC 65
G
a
s
S
u
p
p
l
y
3
/
4
"
C
o
l
d
W
a
t
e
r
S
u
p
p
l
y
L
i
n
e
3/4" Hot Water Supply Line
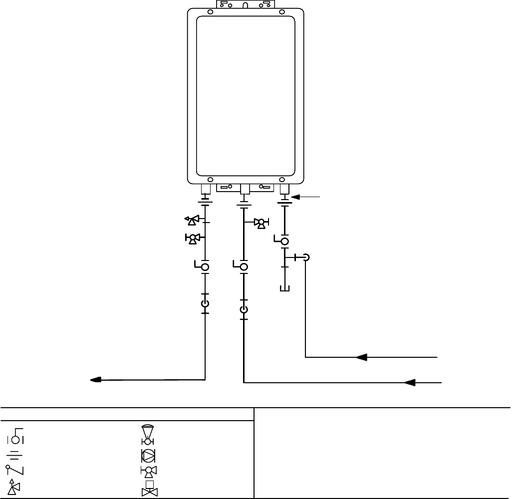
Rinnai
Water Heater
Rinnai
Equipment List
Rinnai
Water Heaters
RIK-KIT (Optional)
(3/4" Fittings Include:
2 Unions, 2 Ball Valves,
2 Drain Valves and
1 Pressure Relief Valve.)
QTY
1
1
3
/
4
"
G
a
s
C
o
n
n
e
c
t
i
o
n
For Building Fixtures
Pressure Relief Valve
3/4" Ball Valve
3/4" Union
Check Valve
S
Pressure Regulator
Circulating Pump
Solenoid Valve
Boiler Drain Valve
KEY
This is not an engineered drawing. It is intended only as a guide and not
as a replacement for professionally engineered project drawings. This
drawing is not intended to describe a complete system. It is up to the
contractor/engineer to determine the necessary components and
configuration of the particular system being installed. This drawing does
not imply compliance with local building code requirements. It is the
responsibility of the contractor/engineer to ensure installation is in
accordance with all local building codes. Confer with local building
officials before installation.
Schéma de tuyauterie pour installaon de base
G
a
s
S
u
p
p
l
y
3
/
4
"
C
o
l
d
W
a
t
e
r
S
u
p
p
l
y
L
i
n
e
3/4" Hot Water Supply Line
Rinnai
Water Heater
Rinnai
Equipment List
Rinnai
Water Heaters
RIK-KIT (Optional)
(3/4" Fittings Include:
2 Unions, 2 Ball Valves,
2 Drain Valves and
1 Pressure Relief Valve.)
QTY
1
1
3
/
4
"
G
a
s
C
o
n
n
e
c
t
i
o
n
For Building Fixtures
Pressure Relief Valve
3/4" Ball Valve
3/4" Union
Check Valve
S
Pressure Regulator
Circulating Pump
Solenoid Valve
Boiler Drain Valve
KEY
This is not an engineered drawing. It is intended only as a guide and not
as a replacement for professionally engineered project drawings. This
drawing is not intended to describe a complete system. It is up to the
contractor/engineer to determine the necessary components and
configuration of the particular system being installed. This drawing does
not imply compliance with local building code requirements. It is the
responsibility of the contractor/engineer to ensure installation is in
accordance with all local building codes. Confer with local building
officials before installation.
Chaue-eau
Connexion de gaz 3/4"
Arrivée du gaz
Conduite d’alimentaon en eau froide 3/4"
Conduite d’eau chaude en 3/4" pour
LÉGENDES
Robinet à boisseau 3/4"
Raccord-union 3/4"
Clapet an-retour
Soupape de décharge
Régulateur de pression
Pompe de circulaon
Vanne de drainage
de chaue-eau
Électrovanne
Conduite d’eau chaude en 3/4" pour
alimenter les équipements du bâment
Ceci n’est pas un dessin technique. Son seul but est de guider, et non de remplacer
des dessins techniques professionnels de projet. Ce schéma n’a pas vocaon à
décrire un système complet. Il est de la responsabilité du sous-traitant ou de
l’ingénieur en charge de déterminer les composants nécessaires pour le système
spécique à installer. Le schéma ne sous-entend pas une conformité avec les
exigences des normes locales de construcon. Il est de la responsabilité du sous-
traitant ou de l’ingénieur en charge de s’assurer que l’installaon est en conformité
avec toutes les normes locales de construcon. Consultez les autorités locales de
construcon avant l’installaon.