Manual
Manuals
Brands
RME Manuals
Car Speakers
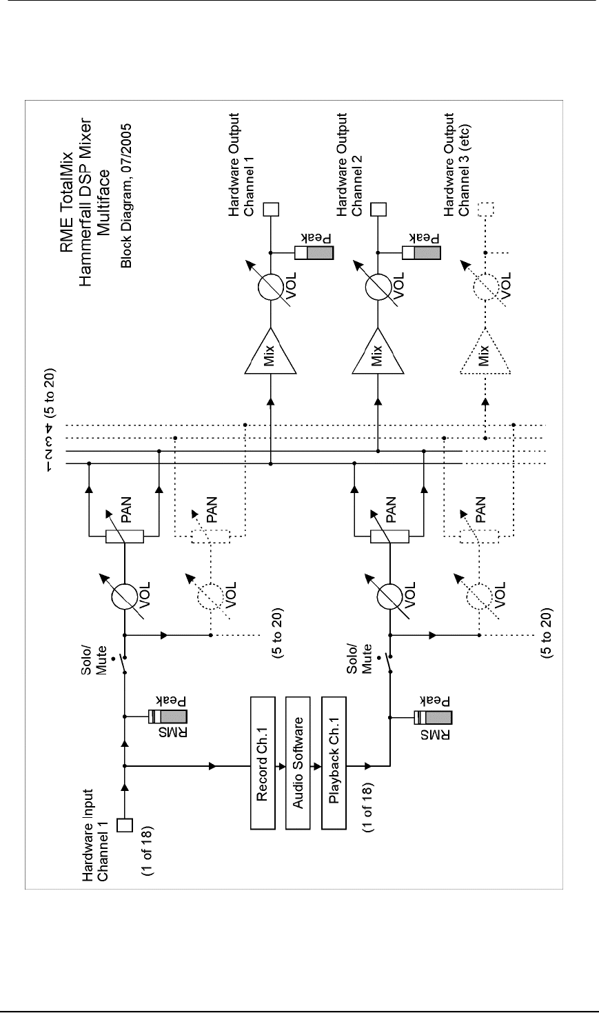
DSP System Multiface
41
42
43
44
45
46
47
48
49
50
User's Guide HDSP System Multiface II
© RME
45
1
...
...
43
44
45
46
47
...
...
80