Specifications

11
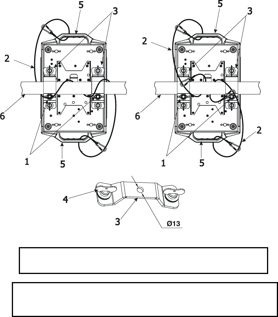
Truss installation
1.Bolt each clamp (1) to the omega holder (3) with M12 bolt and lock nut through the hole in the holder.
2.Fasten the omega holders on the bottom of the base by inserting both quick-lock fasteners (4) into the holes
of the base and tighten fully clockwise.
3. Pull the safety wire (2) through the carrying handles (5) and around the truss (6) as shown on the pictures
below.
Securing the xture via one safety wire Securing the xture via two safety wires
When installing xtures side-by-side,
avoid illuminating one xture with another!
DANGER TO LIFE!
Before taking into operation for the rst time,the installation has to be approved
by an expert!
1-Clamps
2-Safety wire
3-Omega holder
4-Quick-lock fastener
5-Carrying handles
6-Truss










