Operation Manual

38
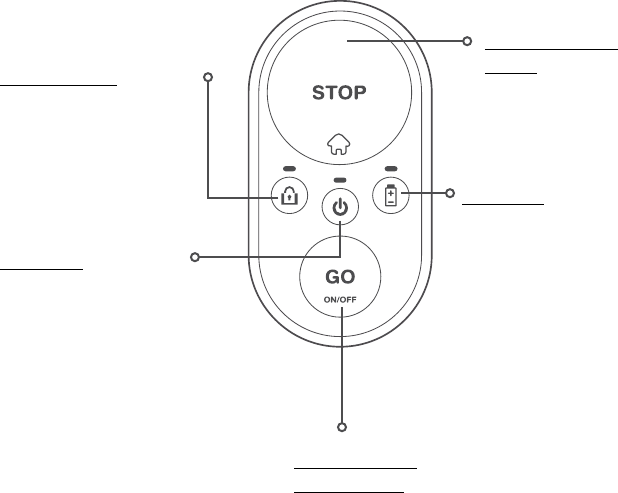
Panneau de commande
Bouton STOP /
Home
Verrouillage :
Orange fixe : protection
enfant active
Orange clignotant :
protection antivol active
ON-OFF :
Vert fixe : la tondeuse est sous
tension / en cours d'utilisation
Vert clignotant : la tondeuse est
en train de revenir à la station ou à
un point de départ
Vert clignotant rapide (avec
sons) : la tondeuse quitte la
station
Vert clignotant lent : la tondeuse
est en veille
Rouge clignotant / rouge fixe :
la tondeuse a un problème (voir
section Dépannage)
Commutateur
GO /ON-OFF
Batterie :
Vert clignotant : la tondeuse
est en train de se charger sur
la station
Vert fixe : la batterie est
totalement chargée
Rouge clignotant : la batterie
est presque vide, il va falloir
recharger la tondeuse
Rouge fixe : la batterie est
faible et doit être rechargée
pour que la tonte puisse
reprendre