User manual

27
Kannattimet
Kannattimet voidaan irrottaa uunin oikealta ja vasemmalta reunalta, jolloin
sivuseinämien puhdistaminen on helpompaa.
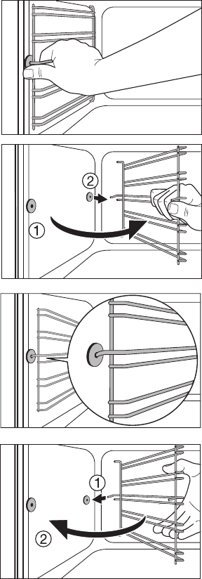
Kannattimien irrottaminen
Vedä kannatin ensin irti uunin seinämän
etuosasta (1) ja irrota sitten takaa (2).
Kannattimien kiinnittäminen
3 Tärkeää! Ohjaintappien pyöreiden päi-
den on osoitettava eteenpäin!
Ripusta kannatin ensin paikoilleen taakse
(1) ja pistä sitten paikoilleen edestä ja
paina kiinni (2).










