Service manual
Table Of Contents

2023 Service Manual V1.0
2
2-3
MACHINE INTRODUCTION
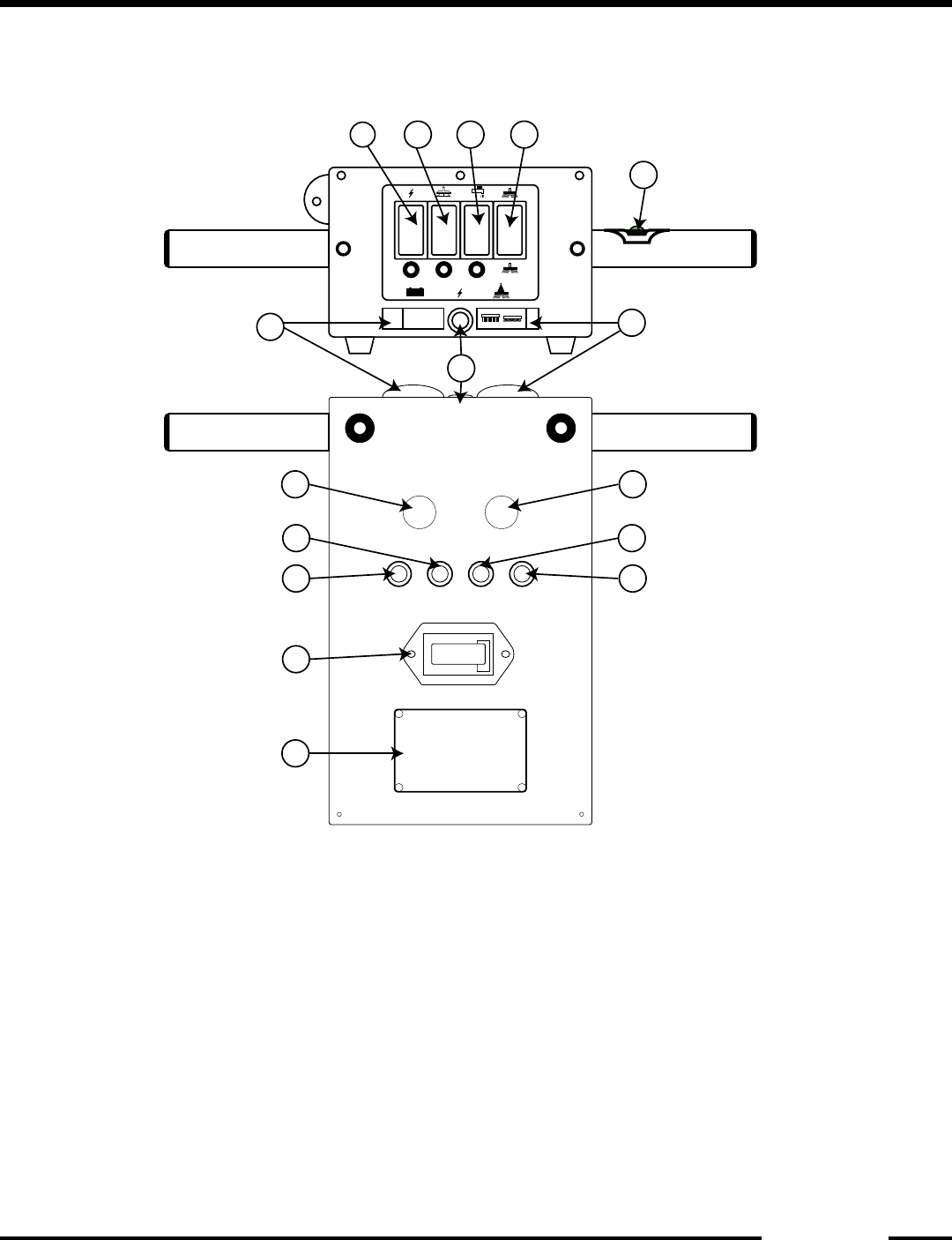
CONTROL PANEL
A. Main Power Switch
B. Vacuum Switch
C. Solution Switch
D. Brush Motor Switch
E. Handle Switch
F. Battery Gauge
G. Brush Pressure Gauge
H. Emergency Stop (Optional)
I . Key Switch (Optional)
J. Vacuum Motor Circuit Breaker
K. Brush Motor Circuit Breaker
L. Brush Actuator Circuit Breaker
M. Water Jet Switch (Optional)
N. Hour Meter
O. Serial Number Plate
P. Power Indicator
P