Installation Instruction

Ref : SCT TMO MOD SPEC 662
Rev.: B
Ref. sec. :
Date:
18/11/2004
Document
. All rights of reproduction and disclosure reserved.
MO2XX module – Confidential under NDA
Page 40/67
8.2 TERMINAL ASSIGNMENTS
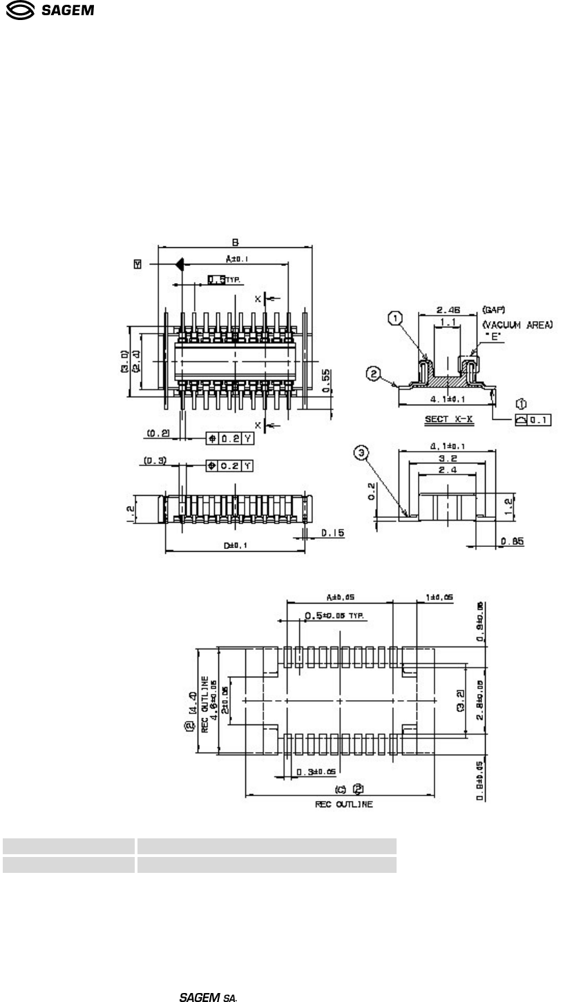
8.2.1. 120 PINS CONNECTOR
8.2.1.1. MO2XX connector
Recommended PC Board Mounting pattern:
Dimensions and references:
Pin Number Reference
120 AVX 10 5604 120 212 829










