Service Manual Printers CL608e/CL612e
Table Of Contents

Page 10-30
Section 10. Parts List
SATO CL608e/CL612e Service Manual
PN 9001079
Rev. B
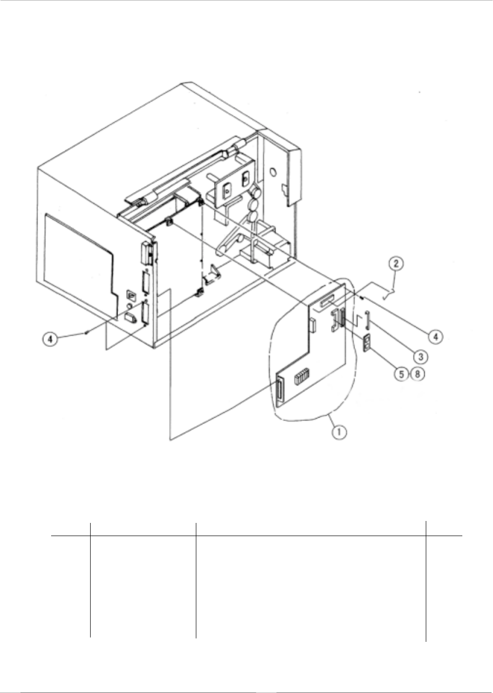
10.7 Main PCB Assembly
1 RJ1771200 Main PCBA 1
2 PC9730100 Spring (Lock) 1
3 PA3739900 Connector lock 1
4 MD4300621 Pan head screw 5
5 RJ7770200 Memory PCB Assy-B 1
8 RJ7770300 Memory PCB (4 MB Memory Option) 1
NO. CODE DESCRIPTION QTY