- Scytek Electronics Inc. Automobile Alarm User Manual
Manuals
Brands
Scytek electronic Manuals
Automobile Alarm
astra ASTRA 777
19
20
21
22
23
24
25
26
27
28
Page 22
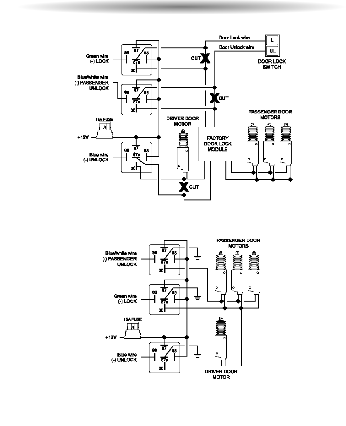
- Astra 777
T
w
o
S
t
a
g
e
D
o
o
r
L
o
c
k
D
i
a
g
r
a
m
s
c
o
n
t
’
d
T
wo Stage Reverse P
olarity
T
wo Stage Adding Actuators
1
...
...
24
25
26
27
28