User Manual

26
ÈÇÃÎÒÎÂËÅÍÈÅ ÊÎÏÈÉ
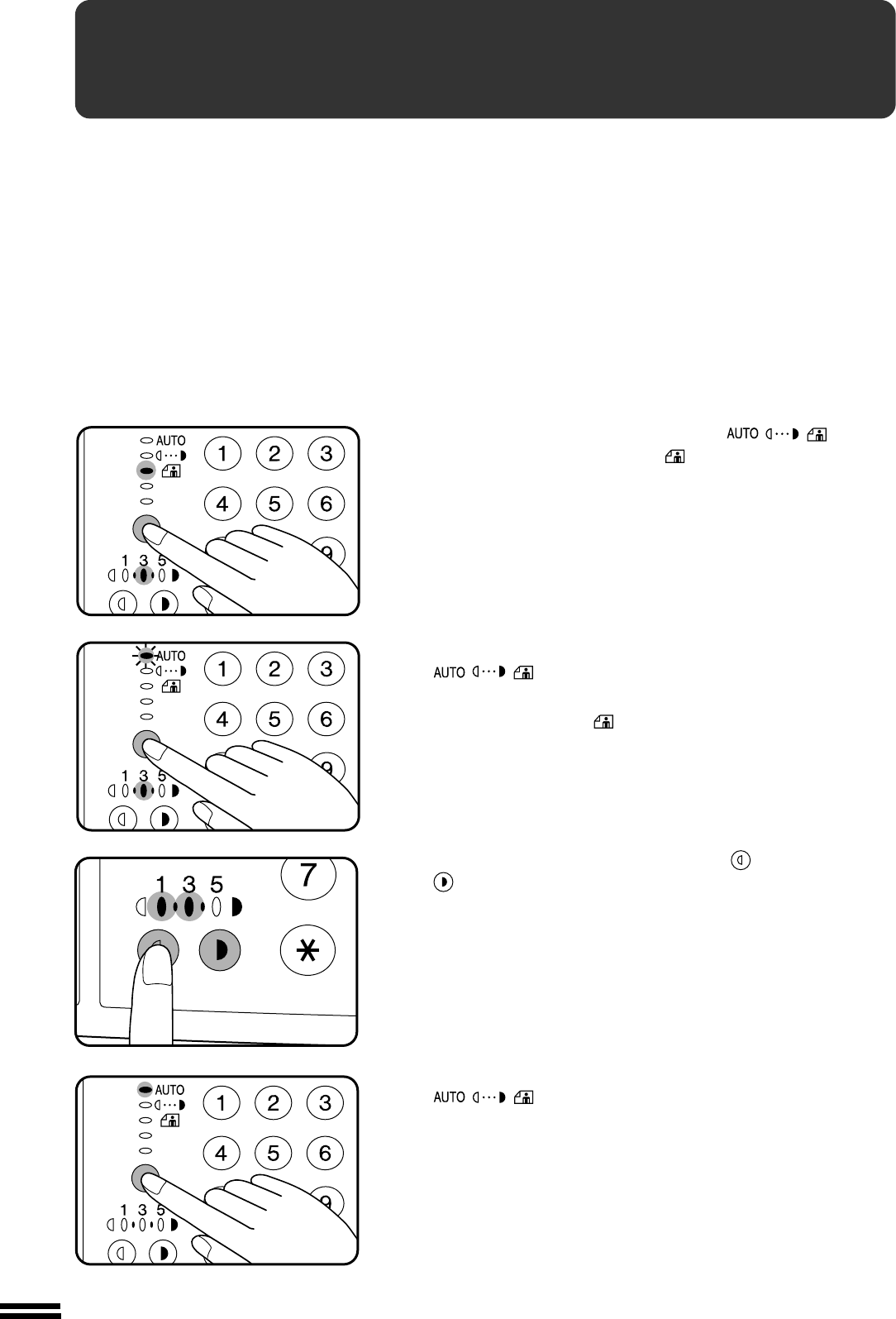
1
Êíîïêîé ÀÂÒÎ/ÐÓ×ÍÎÉ/ÔÎÒÎ ( / / )
âûáåðèòå ðåæèì ÔÎÒÎ ( ).
2
Íàæìèòå íà êíîïêó ÀÂÒÎ/ÐÓ×ÍÎÉ/ÔÎÒÎ
( / / ) è óäåðæèâàéòå åå ïðèáëèçèòåëüíî â
òå÷åíèå 5 ñåêóíä.
· Èíäèêàòîð ÔÎÒÎ (
) ïîãàñíåò, à èíäèêàòîð ÀÂÒÎ íà÷íåò
ìèãàòü.
· Îäèí èëè äâà èíäèêàòîðà óðîâíÿ ýêñïîçèöèè çàãîðÿòñÿ â
ñîîòâåòñòâèè ñ òåêóùèì çíà÷åíèåì óðîâíÿ àâòîìàòè÷åñêîé
ýêñïîçèöèè. Ïðè èçãîòîâëåíèè êîïèðà íà çàâîäå
óñòàíàâëèâàåòñÿ «ïî óìîë÷àíèþ» óðîâåíü «3».
3
Íàæìèòå íà êíîïêó «ñâåòëåå» ( ) èëè «òåìíåå»
( ) ñ òåì, ÷òîáû óâåëè÷èòü èëè óìåíüøèòü ïî
æåëàíèþ ïëîòíîñòü êîïèè â çàâèñèìîñòè îò óðîâíÿ
àâòîìàòè÷åñêîé ýêñïîçèöèè.
4
Íàæìèòå íà êíîïêó (ÀÂÒÎ/ÐÓ×ÍÎÉ/ÔÎÒÎ)
( / / ).
· Èíäèêàòîð ÀÂÒÎ ïåðåñòàíåò ìèãàòü è çàãîðèòñÿ
íåïðåðûâíûì ñâåòîì.
· Óñòàíîâëåííûé óðîâåíü àâòîìàòè÷åñêîé ýêñïîçèöèè
îñòàíåòñÿ íåèçìåííûì äî òåõ ïîð, ïîêà Âû åãî íå èçìåíèòå â
ñîîòâåòñòâèè ñ ïðîöåäóðîé, îïèñàííîé âûøå.
Íàñòðîéêà àâòîìàòè÷åñêîé ðåãóëèðîâêè ýêñïîíèðîâàíèÿ
ÍÀÑÒÐÎÉÊÀ ÀÂÒÎÌÀÒÈ×ÅÑÊÎÉ
ÐÅÃÓËÈÐÎÂÊÈ ÝÊÑÏÎÍÈÐÎÂÀÍÈß
Àâòîìàòè÷åñêàÿ ðåãóëèðîâêà óðîâíÿ ýêñïîçèöèè ìîæåò áûòü
ïðîèçâåäåíà â ñîîòâåòñòâèè ñ ïîòðåáíîñòÿìè ïîëüçîâàòåëÿ.
Óðîâåíü óñòàíàâëèâàåòñÿ êàê äëÿ êîïèðîâàíèÿ ñî ñòîëà
îðèãèíàëîäåðæàòåëÿ, òàê è äëÿ êîïèðîâàíèÿ ñ èñïîëüçîâàíèåì
äîïîëíèòåëüíîãî óñòðîéñòâà ïîäà÷è îðèãèíàëîâ SPF. Äëÿ òîãî,
÷òîáû ïðîèçâåñòè ðåãóëèðîâêó ïðîöåññà ñ èñïîëüçîâàíèåì SPF,
ïîìåñòèòå îðèãèíàë â ëîòîê óñòðîéñòâà è, ïåðåä òåì êàê
ïðèñòóïèòü ê ýòàïó 1 îïåðàöèè, óáåäèòåñü â òîì, ÷òî çàãîðåëñÿ
èíäèêàòîð SPF. Ïðè ðåãóëèðîâêå óðîâíÿ ýêñïîçèöèè äëÿ
êîïèðîâàíèÿ ñî ñòîëà îðèãèíàëîäåðæàòåëÿ, óáåäèòåñü â òîì, ÷òî
èíäèêàòîð SPF íå âûñâå÷èâàåòñÿ.