Operating instructions
Table Of Contents
- 1 Introduction
- 2 General Description
- 3 Special Tools and Equipment
- 4 Disassembly
- 5 Cleaning, Repair and Replacement
- 6 Inspection
- Definitions
- Magnetic Particle Inspection
- Critical New Part Dimensions
- Fluorescent Particle Inspection
- Dimensional Inspection
- Protective Coatings
- Crankcase Inspection
- Crankshaft Inspection
- Camshaft Inspection
- Connecting Rod Inspection
- Gear Inspection
- Piston Inspection
- Cylinder Inspection
- Inspection Chart
- Crankcase Stud Heights
- Mag Particle Inspection Procedures
- Table of Limits
- Torque Specifications
- General Torques
- Table of Limits Chart
- 7 Assembly of Subassemblies
- 8 Final Assembly and Test
- 9 IO-520-M
- 10 IO-520-BB, CB and MB

9-3
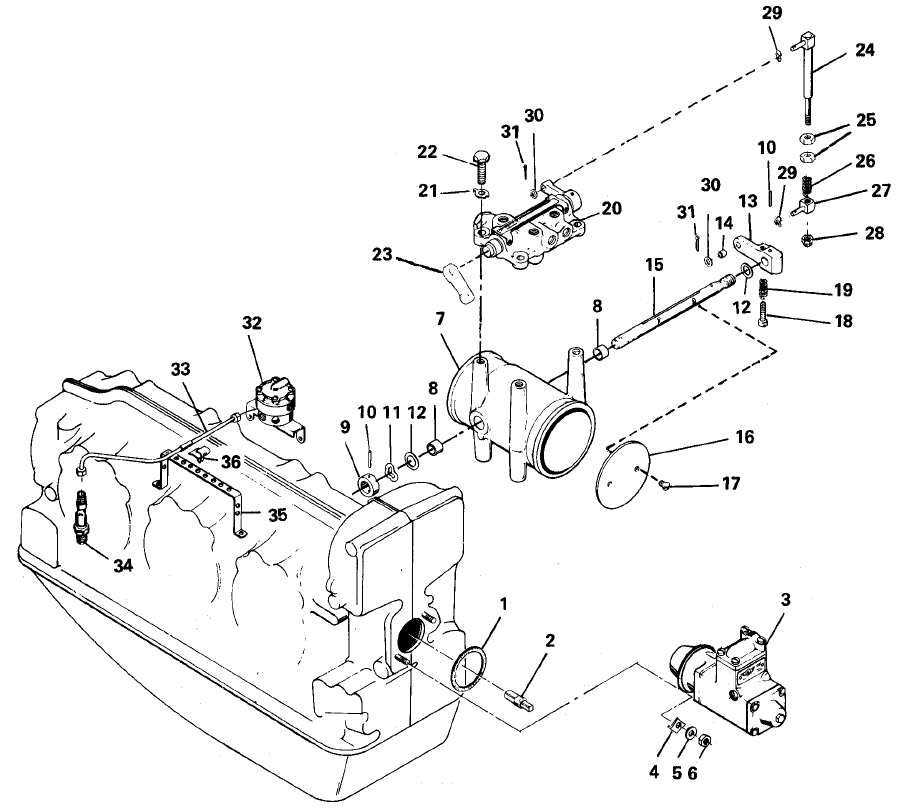
FIGURE 9-2. FUEL INJECTION SYSTEM.
1. Gasket, Fuel Pump to Crankcase 19. Spring
2. Coupling 20. Control Assembly
3. Fuel Pump 21. Washer Tab
4. Washer, Holding 22. Bolt
5. Washer, Lock 23. Lever
6. Nut 24. Rod Assembly
7. Throttle Assembly 25. Nut
8. Bushing 26. Spring
9. Collar 27. Rod End
10. Pin 28. Nut, Self Locking
11. Washer, Wave 29. Washer, Wave
12. Washer, Plain 30. Washer, Plain
13. Lever Assembly 31. Pin, Cotter
14. Bushing 32. Fuel Manifold Valve Assembly
15. Shaft, Throttle Plate 33. Tube Assembly
16. Plate, Throttle 34. Nozzle Assembly
17. Screw 35. Bracket, Fuel Discharge Tube
18. Screw, Adjusting 36. Clamp, Tube-to-Bracket










