Operating instructions

Table Of Contents
9-5
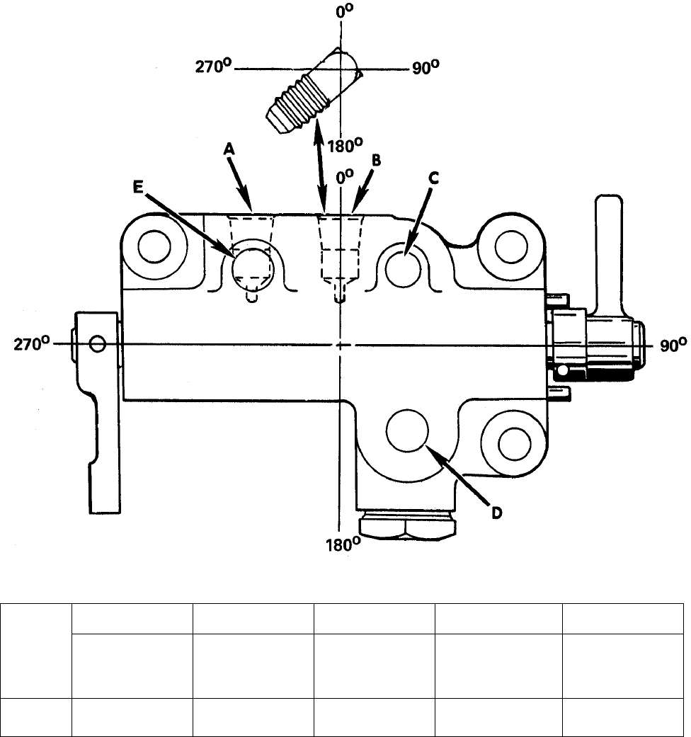
FIGURE 9-4. FUEL CONTROL VALVE FITTING LOCATIONS
ABC D E
TO
MANIFOLD
VALVE
FUEL RETURN
TO TANK
PRESSURE
TAP
FUEL INLET
TO
MANIFOLD
VALVE
IO-520-M
PLUG
90° ELBOW 240° 90° ELBOW 235° 90° ELBOW 150° 90° ELBOW 260°