Operating instructions

Table Of Contents
1-9/1-10
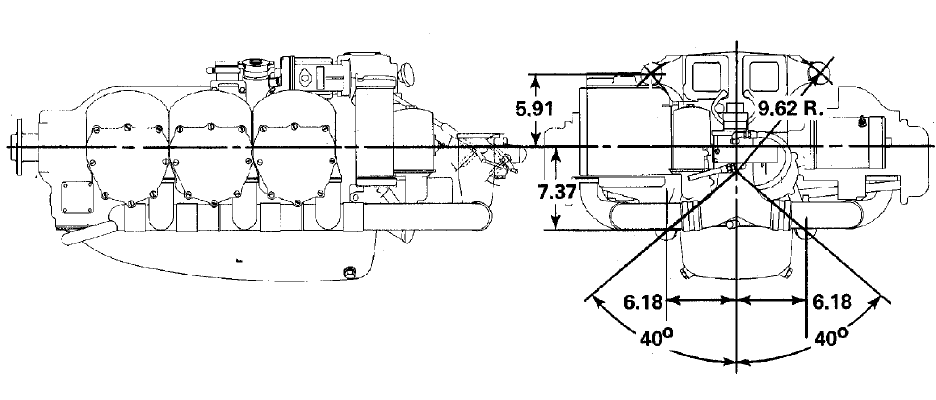
FIGURE 1-13. INSTALLATION DRAWING FOR THE IO-520-C.