Operating instructions
Table Of Contents
- 1 Introduction
- 2 General Description
- 3 Special Tools and Equipment
- 4 Disassembly
- 5 Cleaning, Repair and Replacement
- 6 Inspection
- Definitions
- Magnetic Particle Inspection
- Critical New Part Dimensions
- Fluorescent Particle Inspection
- Dimensional Inspection
- Protective Coatings
- Crankcase Inspection
- Crankshaft Inspection
- Camshaft Inspection
- Connecting Rod Inspection
- Gear Inspection
- Piston Inspection
- Cylinder Inspection
- Inspection Chart
- Crankcase Stud Heights
- Mag Particle Inspection Procedures
- Table of Limits
- Torque Specifications
- General Torques
- Table of Limits Chart
- 7 Assembly of Subassemblies
- 8 Final Assembly and Test
- 9 IO-520-M
- 10 IO-520-BB, CB and MB

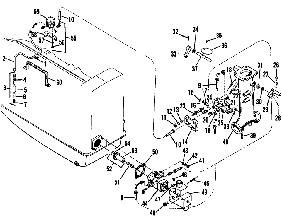
4-2
FIGURE 4-1. FUEL INJECTION SYSTEM (IO-520-A,E,F,J,K & L)
1. Clamp, Fuel Discharge Tube 21. Spring, Compression 41. Nut, Plain, Hex
2. Tube Assembly 22. Rod and Link Assembly 42. Washer, Lock
3. Nozzle Assembly 23. Screw, Special 43. Washer, Plain
4. Nozzle 24. Washer, Tab 44. Fuel Pump Assembly
5. Shield, Dust 25. Control Assy., Complete 45. Spring
6. Screen 26. Screw, Idle Adjusting 46. Screw
7. Jet 27. Spring, Idle Adjusting 47. Nut, Tinnerman
8. Hose Assembly 28. Pin, Tubular 48. Grommet
9. Hose Assembly 29. Lever, Throttle Shaft 49. Shroud Assembly
10. Hose Assembly 30. Washer, Wave 50. Gasket
11. Nut, Plain, Hex 31. Washer, Plain 51. Coupling Drive
12. Washer, Lock 32. Pin, Tubular 52. Gear Assy., Fuel Pump
13. Washer, Plain 33. Lever 53. Gear
14. Shroud Assembly 34. Washer, Plain 54. Plug
15. Pin, Cotter 35. Screw 55. Valve Assy., Fuel Manifold
16. Washer, Plain 36. Plate, Air Throttle 56. Screw
17. Washer, Wave 37. Shaft 57. Washer, Lock
18. Spring, Throttle 38. Plug, Pipe 58. Bracket
19. Nut, Elastic Stop 39. Stud 59. Fuel Manifold Valve
20. Rod End, Special 40. Body Assembly, Air 60. Bracket, Discharge Tubes










