Operating instructions
Table Of Contents
- 1 Introduction
- 2 General Description
- 3 Special Tools and Equipment
- 4 Disassembly
- 5 Cleaning, Repair and Replacement
- 6 Inspection
- Definitions
- Magnetic Particle Inspection
- Critical New Part Dimensions
- Fluorescent Particle Inspection
- Dimensional Inspection
- Protective Coatings
- Crankcase Inspection
- Crankshaft Inspection
- Camshaft Inspection
- Connecting Rod Inspection
- Gear Inspection
- Piston Inspection
- Cylinder Inspection
- Inspection Chart
- Crankcase Stud Heights
- Mag Particle Inspection Procedures
- Table of Limits
- Torque Specifications
- General Torques
- Table of Limits Chart
- 7 Assembly of Subassemblies
- 8 Final Assembly and Test
- 9 IO-520-M
- 10 IO-520-BB, CB and MB

4-3
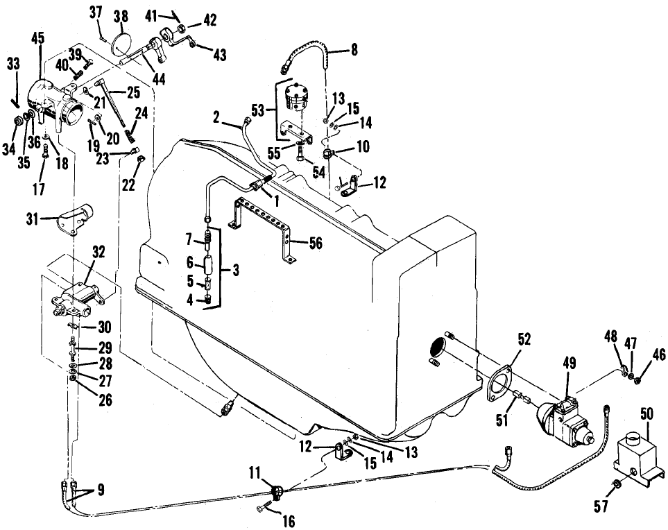
FIGURE 4-2. FUEL INJECTION SYSTEM (IO-520-B)
1. Clamp 20. Washer, Plain 39. Screw, Idle Adjusting
2. Tube Assembly 21. Washer, Wave 40. Spring
3. Nozzle Assembly 22. Nut, Elastic Stop 41. Pin, Cotter
4. Jet 23. Rod End, Special 42. Nut, Plain, Hex
5. Screen 24. Spring, Compression 43. Lever, Throttle Control
6. Shield, Dust 25. Rod and Link Assembly 44. Shaft, Air Throttle
7. Nozzle 26. Nut, Plain, Hex 45. Body Assembly, Air
8. Hose Assembly 27. Washer, Lock 46. Nut, Plain, Hex
9. Hose Assembly 28. Washer, Plain 47. Washer, Lock
10. Clamp 29. Screw 48. Washer, Hold Down
11. Clamp 30. Washer, Tab 49. Fuel Pump Assembly
12. Bracket 31. Shroud, Metering Shaft 50. Shroud Assembly
13. Nut, Plain, Hex 32. Control Assembly 51. Coupling
14. Washer, Lock 33. Pin, Tubular 52. Gasket
15. Washer, Plain 34. Collar 53. Fuel Manifold Valve Assy.
16. Bolt 35. Washer, Wave 54. Screw
17. Bolt 36. Washer, Plain 55. Washer, Lock
18. Washer, Plain 37. Screw 56. Bracket, Discharge Tubes
19. Pin, Cotter 38. Plate Air Throttle 57. Grommet










