Operating instructions
Table Of Contents
- 1 Introduction
- 2 General Description
- 3 Special Tools and Equipment
- 4 Disassembly
- 5 Cleaning, Repair and Replacement
- 6 Inspection
- Definitions
- Magnetic Particle Inspection
- Critical New Part Dimensions
- Fluorescent Particle Inspection
- Dimensional Inspection
- Protective Coatings
- Crankcase Inspection
- Crankshaft Inspection
- Camshaft Inspection
- Connecting Rod Inspection
- Gear Inspection
- Piston Inspection
- Cylinder Inspection
- Inspection Chart
- Crankcase Stud Heights
- Mag Particle Inspection Procedures
- Table of Limits
- Torque Specifications
- General Torques
- Table of Limits Chart
- 7 Assembly of Subassemblies
- 8 Final Assembly and Test
- 9 IO-520-M
- 10 IO-520-BB, CB and MB

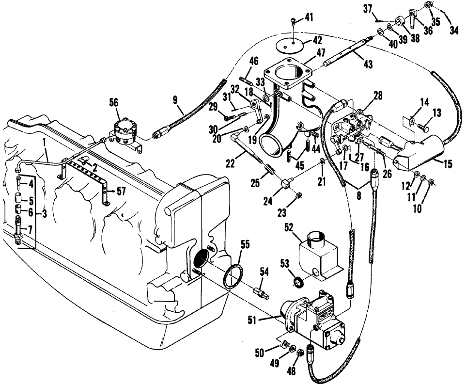
4-4
FIGURE 4-3. FUEL INJECTION SYSTEM (IO-520-C)
1. Tube Assembly 20. Washer, Wave 39. Washer, Wave
2. Clamp 21. Washer, Wave 40. Washer, Plain
3. Nozzle Assembly 22. Rod and Link Assy. 41. Screw
4. Nozzle 23. Nut, Elastic Stop 42. Plate
5. Shield, Dust 24. Rod, End, Special 43. Shaft
6. Screen 25. Spring, Compression 44. Plug
7. Jet 26. Screw, Special 45. Stud
8. Hose Assembly 27. Washer, Tab 46. Stud
9. Hose Assembly 28. Control Assembly 47. Body Assembly
10. Nut 29. Screw, Idle Adjusting 48. Nut
11. Washer, Lock 30. Spring 49. Washer, Lock
12. Washer, Plain 31. Pin, Tubular 50. Washer, Hold Down
13. Screw, Cap 32. Lever Assembly 51. Fuel Pump Assy.
14. Washer, Tab 33. Washer, Plain 52. Shroud Assembly
15. Shroud Assembly 34. Pin, Cotter 53. Grommet
16. Pin, Cotter 35. Nut, Slotted 54. Coupling
17. Washer, Plain 36. Lever 55. Gasket
18. Pin, Cotter 37. Pin 56. Valve Assembly
19. Washer, Plain 38. Collar 57. Bracket










