Operating instructions
Table Of Contents
- 1 Introduction
- 2 General Description
- 3 Special Tools and Equipment
- 4 Disassembly
- 5 Cleaning, Repair and Replacement
- 6 Inspection
- Definitions
- Magnetic Particle Inspection
- Critical New Part Dimensions
- Fluorescent Particle Inspection
- Dimensional Inspection
- Protective Coatings
- Crankcase Inspection
- Crankshaft Inspection
- Camshaft Inspection
- Connecting Rod Inspection
- Gear Inspection
- Piston Inspection
- Cylinder Inspection
- Inspection Chart
- Crankcase Stud Heights
- Mag Particle Inspection Procedures
- Table of Limits
- Torque Specifications
- General Torques
- Table of Limits Chart
- 7 Assembly of Subassemblies
- 8 Final Assembly and Test
- 9 IO-520-M
- 10 IO-520-BB, CB and MB

4-23
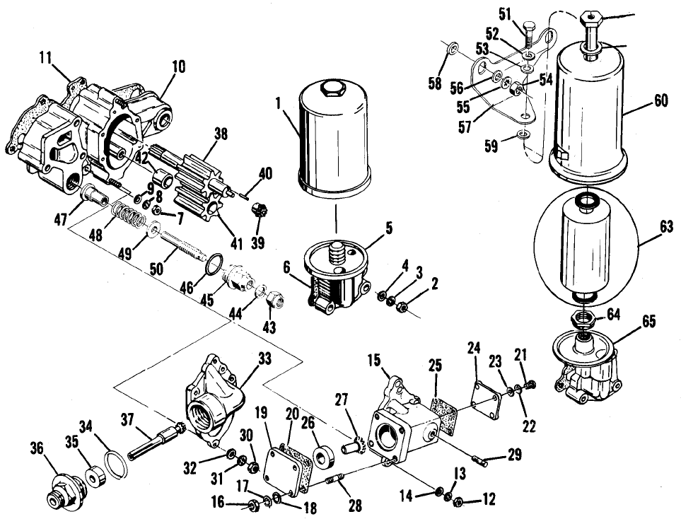
FIGURE 4-19. OIL PUMP (PERMOLD ENGINE FULL FLOW TYPE FILTER).
1. Filter 18. Washer, Plain 34. Gasket 50. Screw, Adjusting
2. Nut 19. Cover 35. Oil Seal *51. Bolt
3. Lockwasher 20. Gasket 36. Housing, Tach Drive *52. Lockwasher
4. Washer, Plain 21. Screw 37. Shaftgear *53. Washer, Plain
5. Adapter 22. Lockwasher 38. Shaftgear *54. Nut
6. Gasket 23. Washer, Plain 39. Gear *55. Lockwasher
7. Nut 24. Cover 40. Dowel *56. Washer, Plain
8. Lockwasher 25. Gasket 41. Gear *57. Bracket
9. Washer, Plain 26. Oil Seal 42. Bushing *58. Spacer
10. Housing, Oil Pump 27. Shaftgear 43. Stop Nut *59. Spacer
11. Gasket 28. Stud 44. Washer, Copper *60. Housing
12. Nut 29. Stud 45. Housing, Relief Valve *61. Stud
13. Lockwasher 30. Nut 46. Gasket *62. Gasket
14. Washer, Plain 31. Lockwasher 47. Plunger *63. Element, Filter
15. Cover 32. Washer, Plain 48. Spring *64. Nut, Nylon Lock
16. Nut 33. Cover 49. Washer, Spring Guide *65. Adapter
17. Lockwasher
*Parts have been replaced by spin-on filter (1) and adapter (5).










