Operating instructions
Table Of Contents
- 1 Introduction
- 2 General Description
- 3 Special Tools and Equipment
- 4 Disassembly
- 5 Cleaning, Repair and Replacement
- 6 Inspection
- Definitions
- Magnetic Particle Inspection
- Critical New Part Dimensions
- Fluorescent Particle Inspection
- Dimensional Inspection
- Protective Coatings
- Crankcase Inspection
- Crankshaft Inspection
- Camshaft Inspection
- Connecting Rod Inspection
- Gear Inspection
- Piston Inspection
- Cylinder Inspection
- Inspection Chart
- Crankcase Stud Heights
- Mag Particle Inspection Procedures
- Table of Limits
- Torque Specifications
- General Torques
- Table of Limits Chart
- 7 Assembly of Subassemblies
- 8 Final Assembly and Test
- 9 IO-520-M
- 10 IO-520-BB, CB and MB

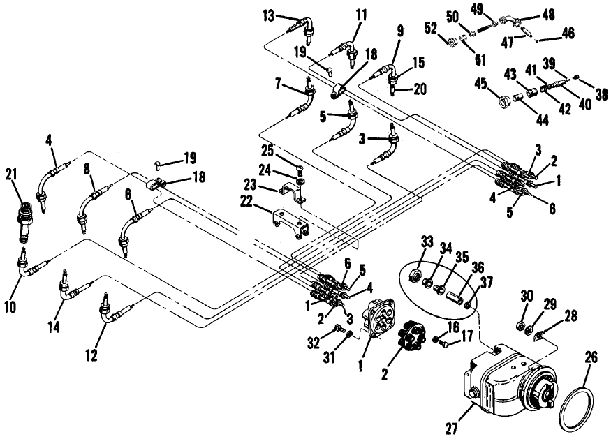
5-11/5-12
FIGURE 5-11. EXPLODED VIEW OF IGNITION SYSTEM.
1. High Tension Cable Outlet Plate 27. Magneto
2. Outlet Plate Grommet 28. Magneto Holding Washer
3. Cable Assy. to No.1 Lower Spark Plug 29. Internal Tooth Lockwasher
4. Cable Assy. to No.6 Upper Spark Plug 30. Plain Hex Nut
5. Cable Assy. to No.3 Lower Spark Plug 31. Spring Lockwasher
6. Cable Assy. to No.2 Upper Spark Plug 32. Fillister-Head Screw
7. Cable Assy. to No.5 Lower Spark Plug 33. Hex Coupling Nut
8. Cable Assy. to No.4 Upper Spark Plug 34. Outer Ferrule
9. Cable Assy. to No.1 Upper Spark Plug 35. Inner Ferrule
10. Cable Assy. to No.6 Lower Spark Plug 36. Insulating Sleeve
11. Cable Assy. to No.3 Upper Spark Plug 37. Brass Washer
12. Cable Assy. to No.2 Lower Spark Plug 38. Spring
13. Cable Assy. to No.5 Upper Spark Plug 39. Screw, Electrode
14. Cable Assy. to No.4 Lower Spark Plug 40. Sleeve, Ignition Cable
15. Coupling Nut 41. Washer
16. Brass Washer 42. Spring
17. Cable Piercing Screw 43. Drive Ferrule
18. Two-Wire Cable Bracket 44. Drive Ferrule, Plug End
19. Round-Head Rivet 45. Nut, Spark Plug End
20. Spark Plug Terminal Sleeve 46. Nail
21. Approved Spark Plug 47. Sleeve
22. Brace (Assembled on Crankcase) 48. Elbow Assembly
23. Clip 49. Grommet
24. Internal Tooth Lockwasher 50. Ferrule, Cable, Inner
25. Round-Head Screw 51. Ferrule, Cable, Outer
26. Magneto Gasket 52. Nut, Spark Plug End










