Cash Register User Manual

17
Single item cash sale (SICS) entry
• This function is useful when a sale is for only one item and is for cash. This function is applicable only to those
departments that have been set for SICS or to their associated PLUs or subdepartments.
• The transaction is complete and the drawer opens as soon as you press the department key,
d
key, the
direct PLU key or
p
key.
If an entry to a department or PLU/subdepartment set for SICS follows the ones to departments or
PLUs/subdepartments not set for SICS, it does not finalize and results in a normal sale.
PLU level shift (for direct PLU key)
This shift can double or triple the number of direct PLU keys on your register without adding additional direct
PLU keys. You can use direct PLU keys in three levels by utilizing shift keys
Ò
,
Ú
, and
Æ
. These keys have
the following functions.
Ò
: Shifts the PLU level from level 2 or 3 to level 1 (ordinary level).
Ú
: Shifts the PLU level from level 1 or 3 to level 2.
Æ
: Shifts the PLU level from level 1 or 2 to level 3.
You can select one of the two PLU level shift modes — automatic return mode* and lock shift mode** — and
decide whether to allow PLU level shift in both the REG and MGR modes or in the MGR mode alone.
* The automatic return mode automatically shifts the PLU level back to level 1. You can select whether the
PLU level should return to level 1 each time you enter one item
or each time you finalize one transaction.
** The lock shift mode holds the current PLU level until pressing of a PLU level shift key.
For finishing
the transaction
250
!
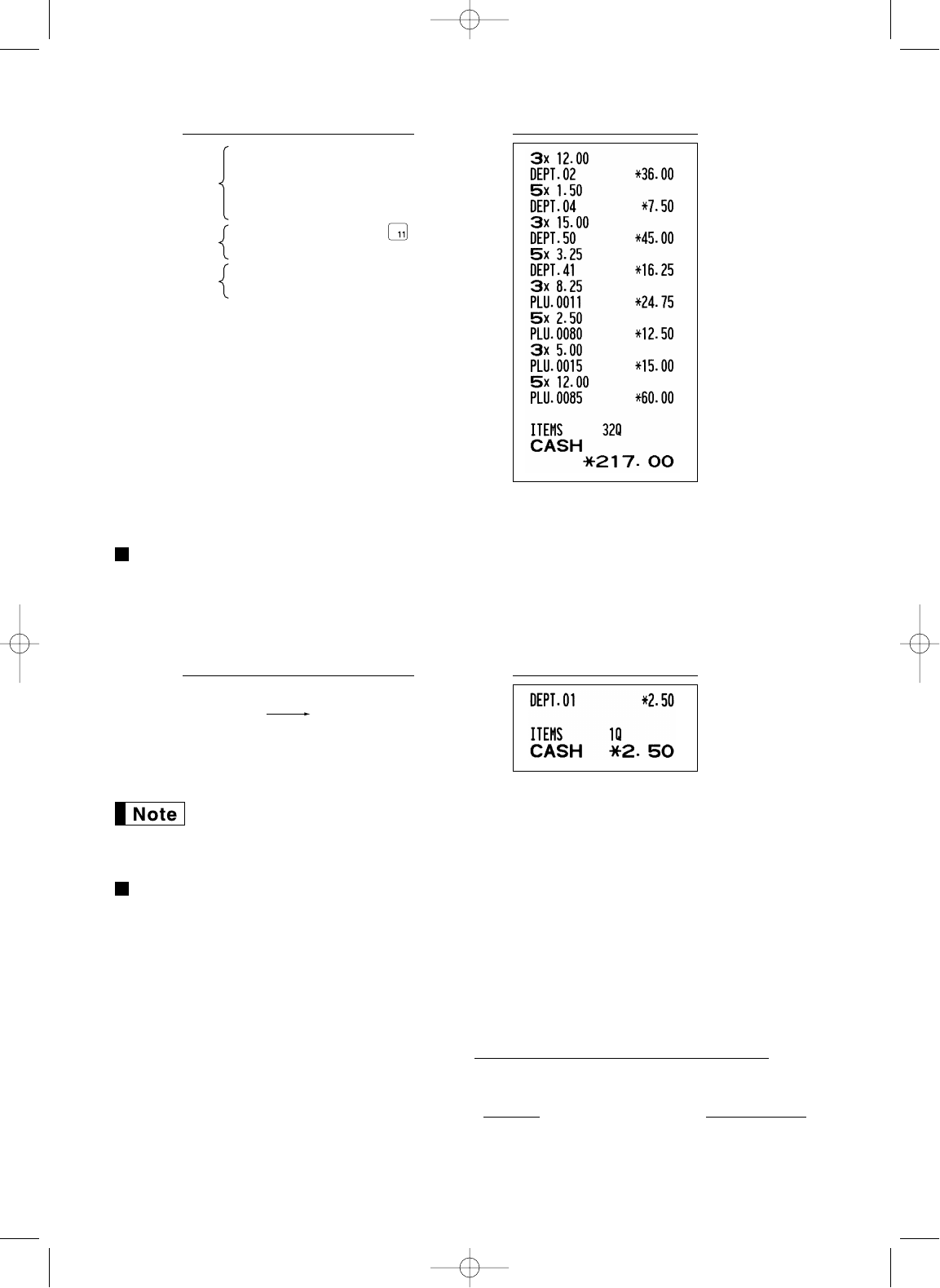
Receipt printKey operation example
3 @ 1200 "
5 @ $
3 @ 50 d 1500 d
5 @ 41 d
3 @
5 @ 80 p
3 @ 500 fi
5 @ 85 p 1200 p
A
Subdepart-
ment entry
PLU entry
Department
entry
Receipt printKey operation example
A212_2 FOR THE OPERATOR 03.7.5 8:01 AM Page 17