Cash Register User Manual

19
The subtotal is displayed by pressing the
s
key. When you press it, the subtotal of all entries which have been
made is displayed with the function message “SUBTOTAL”.
Subtotal will not be printed on a receipt on the current factory setting. If you want to print it, change
the setting by programming. Refer to “Receipt print format” (Job code 7) on page 50.
Cash or cheque tendering
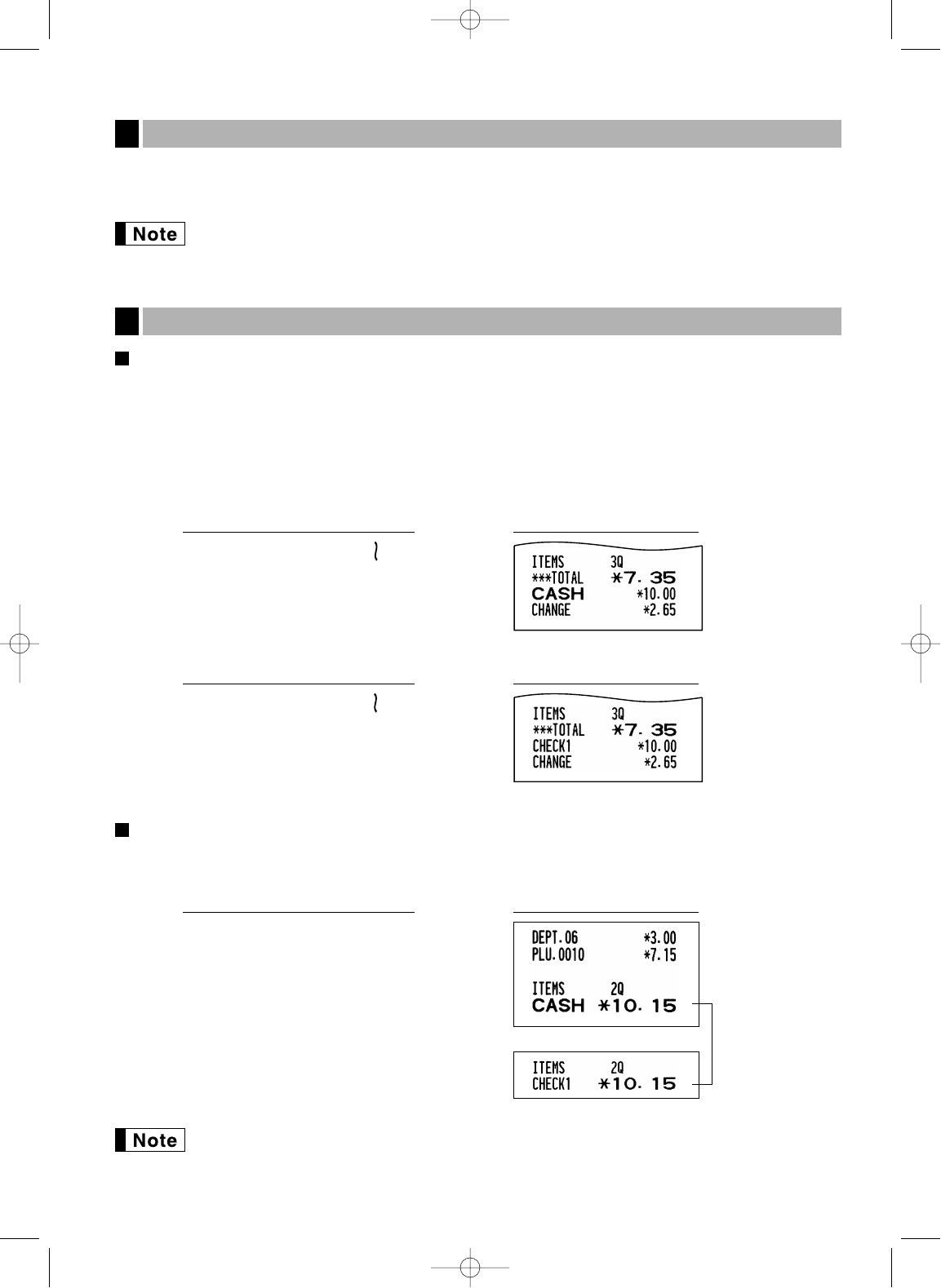
Press the
s
key to get a subtotal, enter the amount tendered by your customer, then press the
A
key if it is a
cash tender or press a cheque key (
X
or
Y
)
if it is a cheque tender. When the amount tendered is greater
than the amount of the sale, the register will show the change due amount with the function message
“CHANGE”. Otherwise the register will show a deficit with the function message “DUE”. You now must make a
correct tender entry.
Cash tendering
Cheque tendering
Cash or cheque sale that does not require tender entry
Enter items and press the
A
key if it is a cash sale or press a cheque key if it is a cheque sale. The register
will display the total sale amount.
When programmed not to allow “direct non-tender finalization after tendering” (Job code 63, refer to
page 52), you must always enter a tender amount.
In the case of cheque 1 sale
300
(
º
A
Receipt printKey operation example
s
1000 X
Receipt printKey operation example
s
1000 A
Receipt printKey operation example
Finalization of Transaction
5
Displaying Subtotals
4
A212_2 FOR THE OPERATOR 03.7.5 8:01 AM Page 19