Cash Register User Manual

23
Non-add code number entries and printing
You can enter a non-add code number such as a customer’s code number and credit card number, a maximum
of 16 digits, at any point during the entry of a sale. The cash register will print it at once.
To enter a non-add code number, enter the number and press the
N
key.
This feature is used to store and recall previous balances when a guest look-up (GLU) code is entered. You can
accept re-order and issue bills with GLU codes. The GLU code refers to a code that is used whenever the guest
check must be accessed for re-ordering or final payment.
The GLU code can be 1 to 50.
For new guest
For a new guest, open a new guest check by assigning a GLU code.
*
1
: The tax is not calculated.
*
2
: Press the
˝
key to issue a guest check receipt (bill). A print sample is shown on the next page.
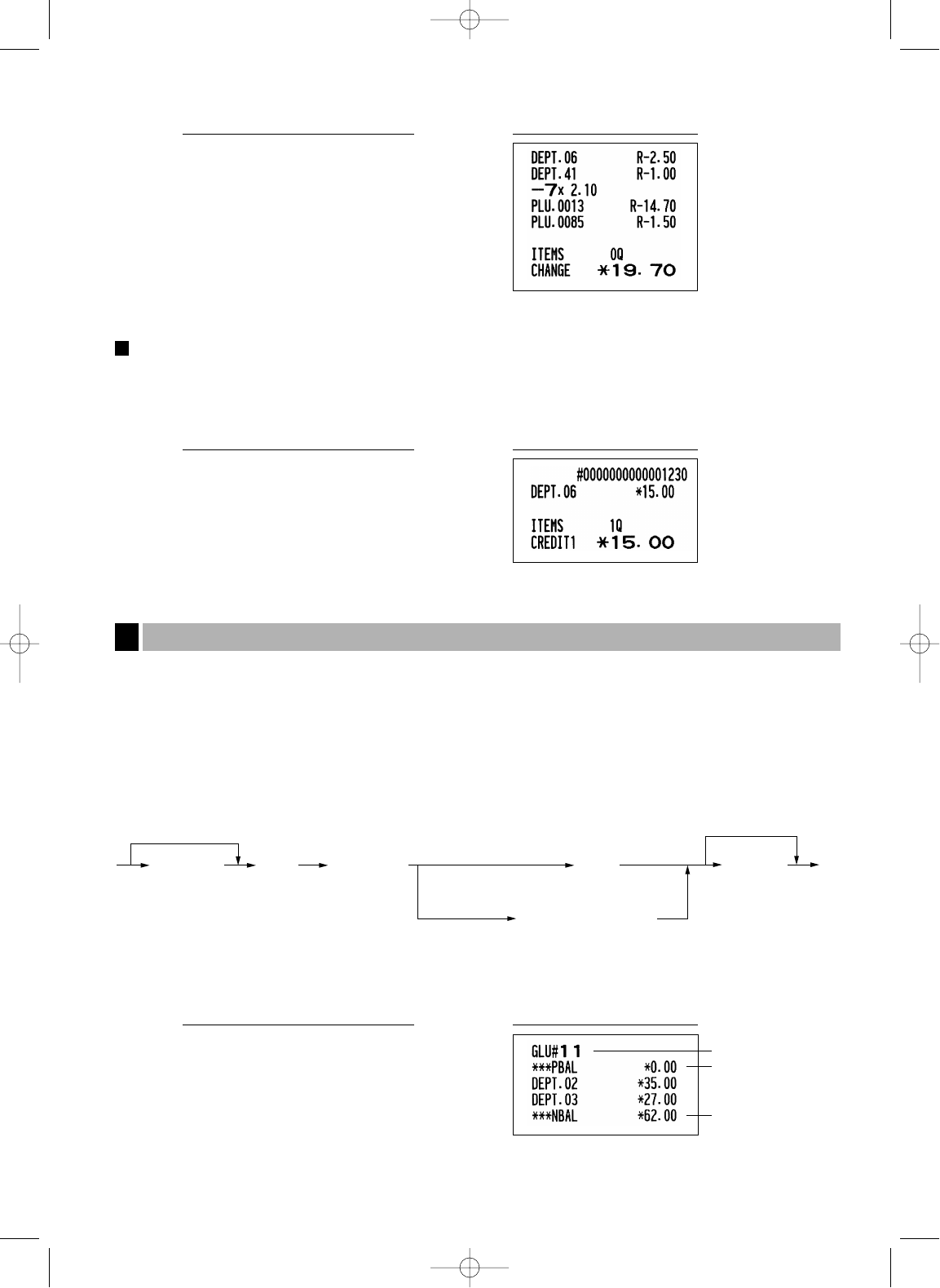
GLU code
Previous balance
New balance
11
G
3500
"
2700
#
˜
Receipt printKey operation example
For automatic GLU
code generation
To finalize temporarily
For settlement
Item entriesGLU code
(1-50)
G˜˝
*
1
*
2
Finalization operation
Guest Look-up (GLU)
2
1230
N
1500
(
c
Receipt printKey operation example
250
f(
41
fd
100
d
7
@
f‹
85
fp
150
p
A
Receipt printKey operation example
A212_2 FOR THE OPERATOR 03.7.5 8:01 AM Page 23