Cash Register User Manual

40
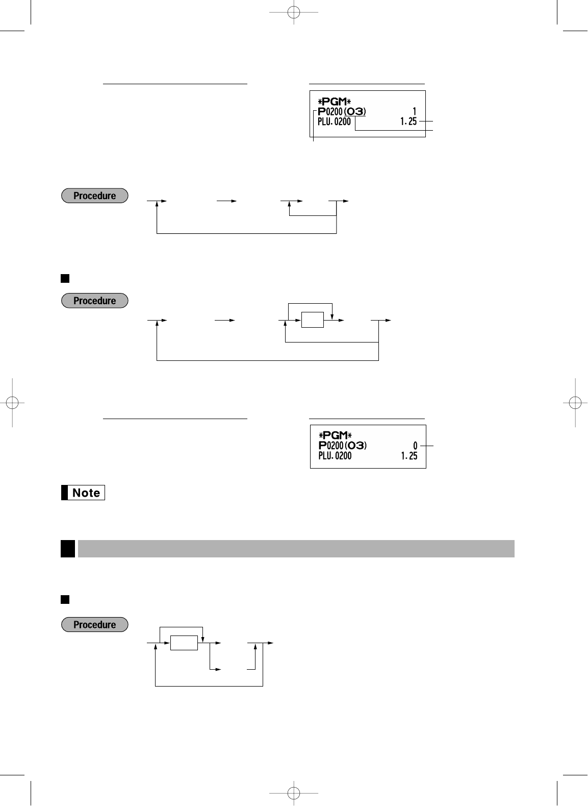
To delete a PLU code, use the following sequence:
PLU/subdepartment selection
*A: 0 for subdepartment or 1 for PLU
When you program the last PLU code, the programming sequence will be complete with a press of
the
s
key.
The cash register provides miscellaneous keys such as
%
,
-
,
r
,
o
,
V
,
X
,
Y
,
c
,
b
and
A
.
Rate for
%
and
V
*: Rate
0.00 — 100.00 (% rate)
0.000000 — 999.999999 (Currency exchange rate)
*Rate
%
V
A
To program another rate
To program zero
Miscellaneous Key Programming
3
PLU/subdept.
200
p
0
sA
PrintKey operation example
PLU code
p
To program “0”
To program the following PLU code
To program another PLU code
As
*A
PLU code
pv
To delete the following PLU code
To delete another PLU code
A
PLU code
Unit price
Associated dept.
200
p
125
#
A
PrintKey operation example
A212_3 FOR THE MANAGER 03.7.5 8:02 AM Page 40