User Guide
Table Of Contents
- ----- English version -----
- INTRODUCTION
- IMPORTANT
- CONTENTS
- PARTS AND THEIR FUNCTIONS
- GETTING STARTED
- HELP FUNCTION
- OVERVIEW OF FLOW OF DAILY SALES ENTRIES
- BASIC SALES ENTRY
- OPTIONAL FEATURES
- CORRECTION
- PRIOR TO PROGRAMMING
- BASIC FUNCTION PROGRAMMING (For Quick Start)
- AUXILIARY FUNCTION PROGRAMMING
- ADVANCED PROGRAMMING
- TRAINING MODE
- READING (X) AND RESETTING (Z) OF SALES TOTALS
- EJ REPORT READING AND RESETTING
- OVERRIDE ENTRIES
- CORRECTION AFTER FINALIZING A TRANSACTION (Void mode)
- HOW TO USE AN SD MEMORY CARD
- OPERATOR MAINTENANCE
- 1 In case of a Power Failure
- 2 In Case of Printer Error
- 3 Cautions in Handling the Printer and Recording Paper
- 4 Replacing the Batteries
- 5 Replacing the Paper Roll
- 6 Removing a Paper Jam
- 7 Cleaning the Printer (Print Head / Sensor / Roller)
- 8 Removing the Drawer
- 9 Opening the Drawer by Hand
- 10 Before Calling for Service
- SPECIFICATIONS
- ----- La versión española -----
- INTRODUCCION
- IMPORTANTE
- INDICE
- PARTES Y SUS FUNCIONES
- PARA EMPEZAR
- FUNCION DE AYUDA
- REGISTRO BASICO DE VENTAS
- CARACTERISTICAS OPCIONALES
- CORRECCION
- PROGRAMACION DE LAS FUNCIONES BASICAS (Para el inicio rápido)
- PROGRAMACION DE FUNCIONES AUXILIARES
- 1 Programación de secciones
- 2 Programación de PLU (codificación de precios) y subsección
- 3 Programación de teclas misceláneas
- Tasa para [%1], [%2] y [CONV]
- Importe para [(-)]
- Límite de tasa porcentual para [%1] y [%2]
- Parámetros de función para [%1], [%2] y [(-)]
- Parámetros de función para [CONV]
- Límite de dígitos de entrada para [RA], [PO] y [TAX]
- Parámetros de función para [CHK], [CH] y [CA/AT/NS] (cuando se usa como tecla CA)
- 4 Programación de texto
- PROGRAMACION AVANZADA
- MODO DE INSTRUCCION
- LECTURA (X) Y REPOSICION (Z) DE LOS TOTALES DE VENTAS
- LECTURA Y REPOSICION DE INFORMES EJ
- REGISTROS DE ANULACION
- CORRECCION DESPUES DE FINALIZAR UNA TRANSACCION (Modo de cancelación)
- COMO EMPLEAR UNA TARJETA DE MEMORIA SD
- Inserción y extracción de una tarjeta de memoria SD
- Formateo de una tarjeta de memoria SD
- Memorización y restauración de todos los datos
- Lectura de los datos de logotipos gráficos
- Escritura y lectura de todos los datos de programación
- Escritura de datos de ventas
- Escritura de registro diario electrónico
- Impresión de registro diario electrónico
- MANTENIMIENTO PARA EL OPERADOR
- 1 En caso de corte de la alimentación
- 2 En el caso de error de impresora
- 3 Precauciones al manejar la impresora
- 4 Reemplazo de las pilas
- 5 Reemplazo del rollo de papel
- 6 Extracción del papel atascado
- 7 Limpieza de la impresora (cabezal de impresión / sensor / rodillo)
- 8 Extracción del cajón
- 9 Abertura manual del cajón
- 10 Antes de solicitar el servicio de un técnico

54
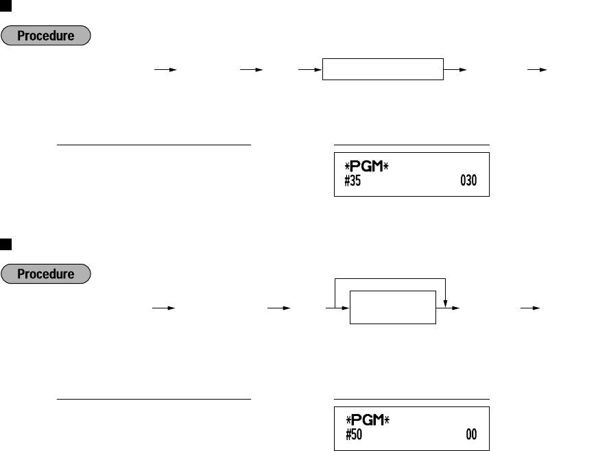
Online time out setting
Default: 007
Thermal printer density
* 50 is the default setting. To make the print darker, set a larger number, and to make the print lighter, set a
smaller number.
s
50
@
00
sA
PrintKey operation example
s50@
*Printer density
(00-99)
As
To set “0”
s
35
@
30
sA
PrintKey operation example
s35@
Time out (1 to 255 sec.)
As