Instruction Manual
Manuals
Brands
Shellab Manuals
Equipment
SMI2E-2
8
9
10
11
12
13
14
15
16
17
14
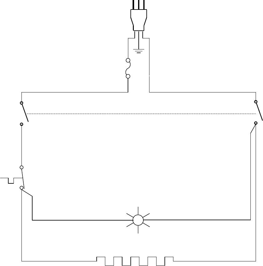
WIRE DIAGRAM
SMI1E (E1)110V
POWER SWITCH 7850579
HEATING LIGHT
4650554
120V 250W
FUSE
CONTROL
THERMOSTAT
1750860
POWER CORD
1800529
1
...
...
12
13
14
15
16
...
17