Instruction Manual
Manuals
Brands
Shellab Manuals
Equipment
SMI2E-2
8
9
10
11
12
13
14
15
16
17
16
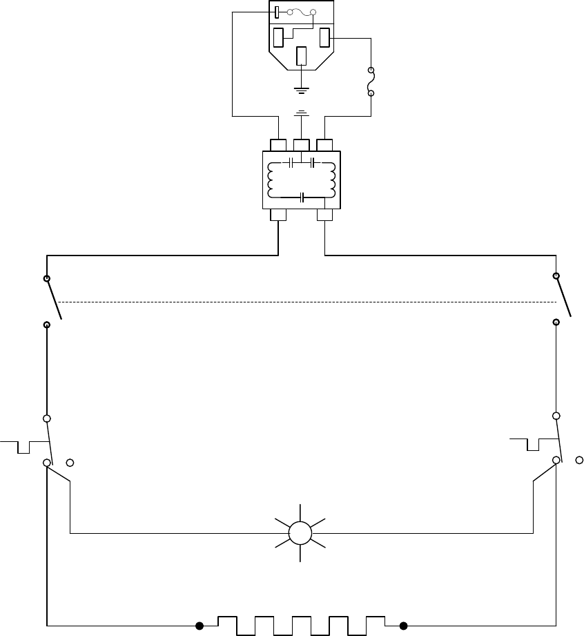
WIRE DIAGRAM
SMI1E-
2 (
EI1-2)
220V
2800502
EMI FILTER
1
2
4
1
2
4
FUSED INLET
4200505
FUSE
POWER SWITCH 7850579
TOP ½ CONTROL
1750813
BOTTOM ½ CONTROL
1750813
HEATING LIGHT
4650554
125 WATTS
1
...
...
14
15
16
17