User manual
Table Of Contents
- Hardware konfigurieren und Verbindungen projektieren mit STEP 7
- Vorwort
- Inhaltsverzeichnis
- 1 Grundlagen zum Hardware-Konfigurieren mit STEP 7
- 2 Konfigurieren der zentralen Baugruppen
- 2.1 Regeln für die Anordnung von Baugruppen ( SIMATIC 300)
- 2.2 Regeln für die Anordnung von Baugruppen ( SIMATIC 400)
- 2.3 Schritte zum Konfigurieren von zentralen Baugruppen
- 2.3.1 Erzeugen einer Station
- 2.3.2 Aufrufen der Applikation zum Konfigurieren der Hardware
- 2.3.3 Anordnen des zentralen Baugruppenträgers
- 2.3.4 Anordnen von Baugruppen im Baugruppenträger
- 2.3.5 Anzeige der CPU-Betriebssystem-Version im Fenster ' Hardware Katalog'
- 2.3.6 Anordnen von C7-Komplettsystemen (Besonderheiten)
- 2.3.7 Festlegen der Eigenschaften von Baugruppen/Schnittstellen
- 2.3.8 Adressen zuweisen
- 2.3.9 Ein-/Ausgangsadressen zuweisen
- 2.3.10 Ein- und Ausgangsadressen Symbole zuweisen
- 2.3.11 Eingänge beobachten und Ausgänge steuern beim Konfigurieren der Hardware
- 2.3.12 Konfigurieren von PtP-CPs
- 2.3.13 Konfigurieren von S5-Baugruppen
- 2.4 Ergänzen des zentralen Baugruppenträgers um Erweiterungsbaugruppenträger
- 3 Konfigurieren der Dezentralen Peripherie ( DP)
- 3.1 Grundsätzliche Vorgehensweise zum Konfigurieren eines DP- Mastersystems
- 3.2 Wo sind die DP-Slaves im Fenster Hardware Katalog zu finden?
- 3.3 Konsistente Daten dezentral lesen und schreiben (> 4 Bytes)
- 3.4 Konfigurationen für PROFIBUS-DP
- 3.4.1 Konfiguration mit 'einfachen' (modularen oder kompakten) DP-Slaves ( Datenaustausch Slave <> Master)
- 3.4.2 Konfiguration mit intelligenten DP-Slaves (Datenaustausch I- Slave <> Master)
- 3.4.3 Konfiguration mit intelligenten DP-Slaves (direkter Datenaustausch Slave > I- Slave)
- 3.4.4 Konfiguration mit zwei DP-Mastersystemen (direkter Datenaustausch Slave > I- Slave)
- 3.4.5 Konfiguration mit zwei DP-Mastersystemen (direkter Datenaustausch Slave > Master)
- 3.5 Schritte zum Konfigurieren Dezentraler Peripheriesysteme
- 3.5.1 Anlegen eines DP-Mastersystems
- 3.5.2 Hantieren mit DP-Mastersystemen und -Schnittstellen
- 3.5.3 Auswählen und Anordnen von DP-Slaves
- 3.5.4 Kopieren von mehreren DP-Slaves
- 3.5.5 Konfigurieren von kompakten DP-Slaves
- 3.5.6 Konfigurieren von modularen DP-Slaves
- 3.5.7 DP-Slave SYNC-/FREEZE-Gruppe zuordnen
- 3.6 Weitere DP-Slave-Konfigurationen
- 3.7 Intelligente DP-Slaves
- 3.8 Direkter Datenaustausch (Querverkehr)
- 3.9 Arbeiten mit GSD-Dateien
- 3.10 DPV1
- 3.11 Diagnose-Repeater
- 3.12 Einstellen von gleichlangen Buszyklen bei PROFIBUS- Subnetzen
- 3.12.1 Kurze und gleichlange Prozessreaktionszeiten am PROFIBUS-DP projektieren
- 3.12.2 Äquidistanz und Taktsynchronität in HW Konfig parametrieren
- 3.12.3 PG/PC über Industrial Ethernet und IE/PB-Link an äquidistantes PROFIBUS- Netz anschließen
- 3.12.4 Prozessreaktionszeit verkürzen durch Überlappung von Ti und To
- 4 Konfigurieren von PROFINET IO-Geräten
- 4.1 Wissenswertes zu PROFINET IO
- 4.1.1 Was ist PROFINET IO?
- 4.1.2 PROFIBUS DP und PROFINET IO: Gemeinsamkeiten und Unterschiede
- 4.1.3 Adressen- und Namensvergabe für PROFINET IO-Geräte
- 4.1.4 Anbindung bestehender PROFIBUS DP-Konfigurationen
- 4.1.5 Aktualisierungszeiten für den zyklischen Datenaustausch
- 4.1.6 IO-Device-spezifische Aktualisierungszeit einstellen
- 4.2 Schritte zum Konfigurieren eines PROFINET IO- Systems
- 4.2.1 Überblick: Von der Projektierung bis zum zyklischen Datenaustausch
- 4.2.2 Grundsätzliche Vorgehensweise zum Konfigurieren eines PROFINET IO- Systems
- 4.2.3 Anlegen eines PROFINET IO-Systems
- 4.2.4 Auswählen und Anordnen von IO-Devices
- 4.2.5 Wo sind die IO-Devices im Hardware Katalog zu finden?
- 4.2.6 Hantieren von PROFINET IO-Systemen
- 4.3 Beispiele für Konfigurationen mit PROFINET IO
- 4.4 In Betrieb nehmen von PROFINET IO-Geräten
- 4.4.1 Online-Zugriff auf PROFINET IO-Geräte über Ethernet
- 4.4.2 Anzeige der Ethernet-Teilnehmer über das Fenster ' Erreichbare Teilnehmer'
- 4.4.3 Laden der PROFINET IO-Geräte
- 4.4.4 Gerätenamen zuweisen über Memory Card (MMC)
- 4.4.5 IP-Adresse oder Gerätename im Betrieb ändern
- 4.4.6 Diagnose von PROFINET IO-Geräten
- 4.4.7 Projektieren der Ansprechüberwachungszeit
- 4.1 Wissenswertes zu PROFINET IO
- 5 Konfigurieren der IRT-Kommunikation
- 5.1 Einführung: Isochronous Realtime Ethernet
- 5.2 Überblick: Grundsätzliche Vorgehensweise zur Projektierung von IRT
- 5.3 PROFINET IO-Projektierung erstellen
- 5.4 Sync-Domain anlegen
- 5.5 Aktualisierungszeiten festlegen
- 5.6 Topologie projektieren
- 5.7 Direkten Datenaustausch projektieren
- 5.8 Laden einer IRT-Projektierung
- 5.9 Medienredundanz
- 6 Konfigurieren der SIMATIC PC-Station ( SIMATIC PC based)
- 7 Speichern, Importieren und Exportieren einer Konfiguration
- 8 Synchroner Betrieb mehrerer CPUs ( Multicomputing)
- 9 Anlagenänderung im laufenden Betrieb ( CiR)
- 10 Konfigurieren von H-Systemen
- 11 Vernetzen von Stationen
- 11.1 Vernetzen von Stationen innerhalb eines Projekts
- 11.2 Eigenschaften von Subnetzen und Kommunikationsteilnehmern
- 11.3 Regeln zur Netzkonfiguration
- 11.4 Ethernet-Adressvergabe
- 11.5 Importieren und Exportieren von Stationen in der Netzansicht
- 11.6 Schritte zum Projektieren und Speichern eines Subnetzes
- 11.6.1 Vorgehensweise zum Projektieren eines Subnetzes
- 11.6.2 Erzeugen und parametrieren eines neuen Subnetzes
- 11.6.3 Erzeugen und parametrieren einer neuen Station
- 11.6.4 Erzeugen und parametrieren eines Netzanschlusses
- 11.6.5 Erzeugen und parametrieren eines neuen DP-Slaves
- 11.6.6 Erzeugen und parametrieren von PGs/PCs, 'Anderen Stationen' und S5- Stationen
- 11.6.7 Anschlüsse für PGs/PCs in der Netzprojektierung berücksichtigen
- 11.6.8 Prüfen der Konsistenz des Netzes
- 11.6.9 Speichern der Netzkonfiguration
- 11.6.10 Tipps zum Bearbeiten der Netzkonfiguration
- 11.7 Vernetzen von Stationen bei Netzübergängen
- 11.8 Vernetzen von Stationen aus unterschiedlichen Projekten
- 12 Verbindungen projektieren
- 12.1 Einführung zum Projektieren von Verbindungen
- 12.2 Kommunikation mit Ethernet-CP konfigurieren
- 12.3 Kommunikation mit PROFIBUS-CP konfigurieren
- 12.4 Wissenswertes zu den verschiedenen Verbindungstypen
- 12.5 Wissenswertes zum Verbrauch von Verbindungsressourcen
- 12.6 Verbrauch von Verbindungsressourcen bei hochverfügbaren S7- Verbindungen
- 12.7 Bausteine für unterschiedliche Verbindungstypen
- 12.8 Arbeiten mit der Verbindungstabelle
- 12.9 Inkonsistente Verbindungen
- 12.10 Verbindungsstatus anzeigen
- 12.11 Zugreifen auf Verbindungs-IDs beim Programmieren
- 12.12 Verbindungen projektieren zu Partnern im selben Projekt
- 12.12.1 Verbindungstypen bei Partnern im selben Projekt
- 12.12.2 Regeln für das Erstellen von Verbindungen
- 12.12.3 Verbindungen projektieren für Baugruppen einer SIMATIC Station
- 12.12.3.1 Eingeben einer neuen Verbindung
- 12.12.3.2 Verbindungspartner ändern
- 12.12.3.3 Reservieren einer Verbindung
- 12.12.3.4 Löschen einer oder mehrerer Verbindungen
- 12.12.3.5 Kopieren von Verbindungen
- 12.12.4 Verbindungen projektieren für eine SIMATIC PC-Station
- 12.12.4.1 Projektieren von S7-Verbindungen für eine SIMATIC PC-Station über Router
- 12.12.5 PG/PC als Verbindungspartner
- 12.12.5.1 S7-Verbindung zu einem PG/PC
- 12.12.5.2 S7-Verbindung zu einem PG/PC mit WinCC
- 12.13 Verbindungen projektieren zu Partnern in anderen Projekten
- 12.13.1 Verbindungstypen bei Partnern in anderen Projekten
- 12.13.2 Grundsätzliche Vorgehensweise beim Projektieren von Verbindungen zwischen Projekten
- 12.13.3 Erstellen einer neuen Verbindung zu einem unspezifizierten Partner
- 12.13.4 Erstellen einer Verbindung zu 'Andere Station', 'PG/PC', ' SIMATIC S5'
- 12.14 Speichern von Verbindungen
- 13 Projektieren der Globaldaten- Kommunikation
- 13.1 Übersicht: Globaldaten-Kommunikation
- 13.2 Ermitteln der Kommunikationsleistung aus den GD- Ressourcen
- 13.3 Sende- und Empfangsbedingungen
- 13.4 Reaktionszeit
- 13.5 Schritte zum Konfigurieren und Speichern der GD- Kommunikation
- 13.5.1 Vorgehensweise zur Konfigurierung der GD-Kommunikation
- 13.5.2 Öffnen der GD-Tabelle
- 13.5.3 Tipps zum Arbeiten mit GD-Tabellen
- 13.5.4 Ausfüllen der GD-Tabelle
- 13.5.5 Speichern und erstes Übersetzen der GD-Tabelle
- 13.5.6 Eingeben von Untersetzungsfaktoren
- 13.5.7 Eingeben von Statuszeilen
- 13.5.8 Zweites Übersetzen der GD-Tabelle
- 13.6 Globaldaten mit Systemfunktionen übertragen
- 14 Laden
- 14.1 Laden einer Konfiguration in ein Zielsystem
- 14.2 Erstmaliges Laden der Netzkonfiguration
- 14.3 Laden der Netzkonfiguration in ein Zielsystem
- 14.4 Laden einer PC-Station
- 14.5 Laden von Änderungen der Netzkonfiguration
- 14.6 Laden einer geänderten HW-Konfiguration in eine S7- 400H- Station
- 14.7 Laden der Globaldaten-Konfiguration
- 14.8 Zurückladen einer Konfiguration aus einer Station
- 14.9 Zurückladen einer Netzkonfiguration (Laden in PG)
- 15 Mehrere Personen bearbeiten ein Projekt
- 16 Arbeiten mit Projekten im Multiprojekt
- 16.1 Wissenswertes zum Multiprojekt
- 16.2 Multiprojekt - Voraussetzungen und Empfehlungen
- 16.3 Hantieren von Multiprojekten
- 16.4 Online-Zugriff auf Zielsysteme im Multiprojekt
- 16.5 Projektübergreifende Subnetze anlegen
- 16.6 Darstellung zusammengeführter Subnetze in der Netzansicht
- 16.7 Multiprojektweite Netzsicht
- 16.8 Projektübergreifende Verbindungen projektieren
- 16.9 Möglichkeiten, projektübergreifende Verbindungen zusammenzuführen
- 16.10 S7-Verbindungen zu unspezifizierten Verbindungspartnern
- 16.11 Projekte im Multiprojekt abgleichen
- 16.12 Archivieren und Dearchivieren von Multiprojekten
- 17 Inbetriebnahme und Instandhaltung
- Index

Verbindungen projektieren
Hardware konfigurieren und Verbindungen projektieren mit STEP 7
12-14
A5E00706938-01
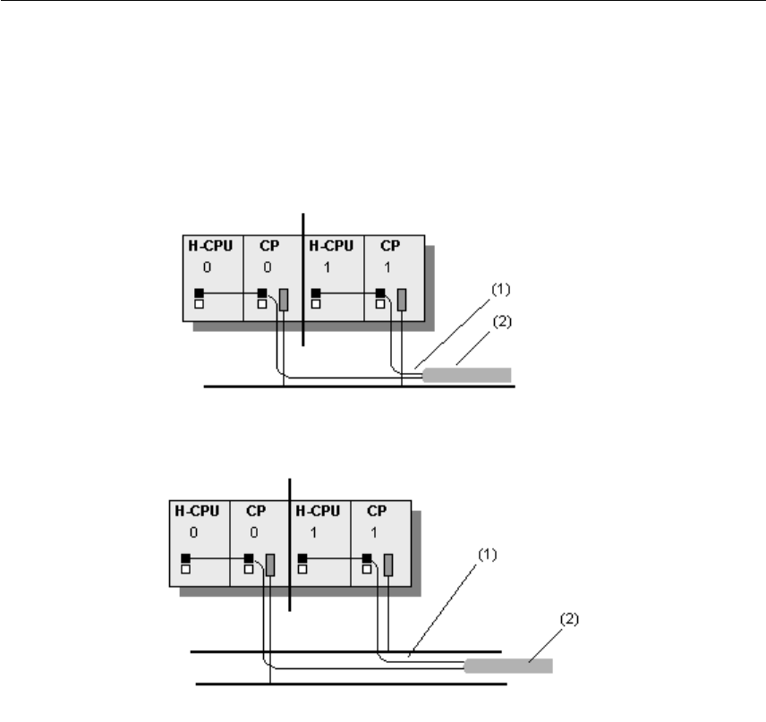
Fall 1: Konfiguration mit redundant aufgebauten H-Stationen (lokal und entfert),
zwei Teilverbindungen möglich
Wie in folgenden Bildern gezeigt, werden auf den beiden CPUs je eine Ressource
belegt und auf den beteiligten CPs ebenfalls eine Verbindungsressource belegt.
(1) Teilverbindung
(2) Hochverfügbare S7-Verbindung