Datasheet

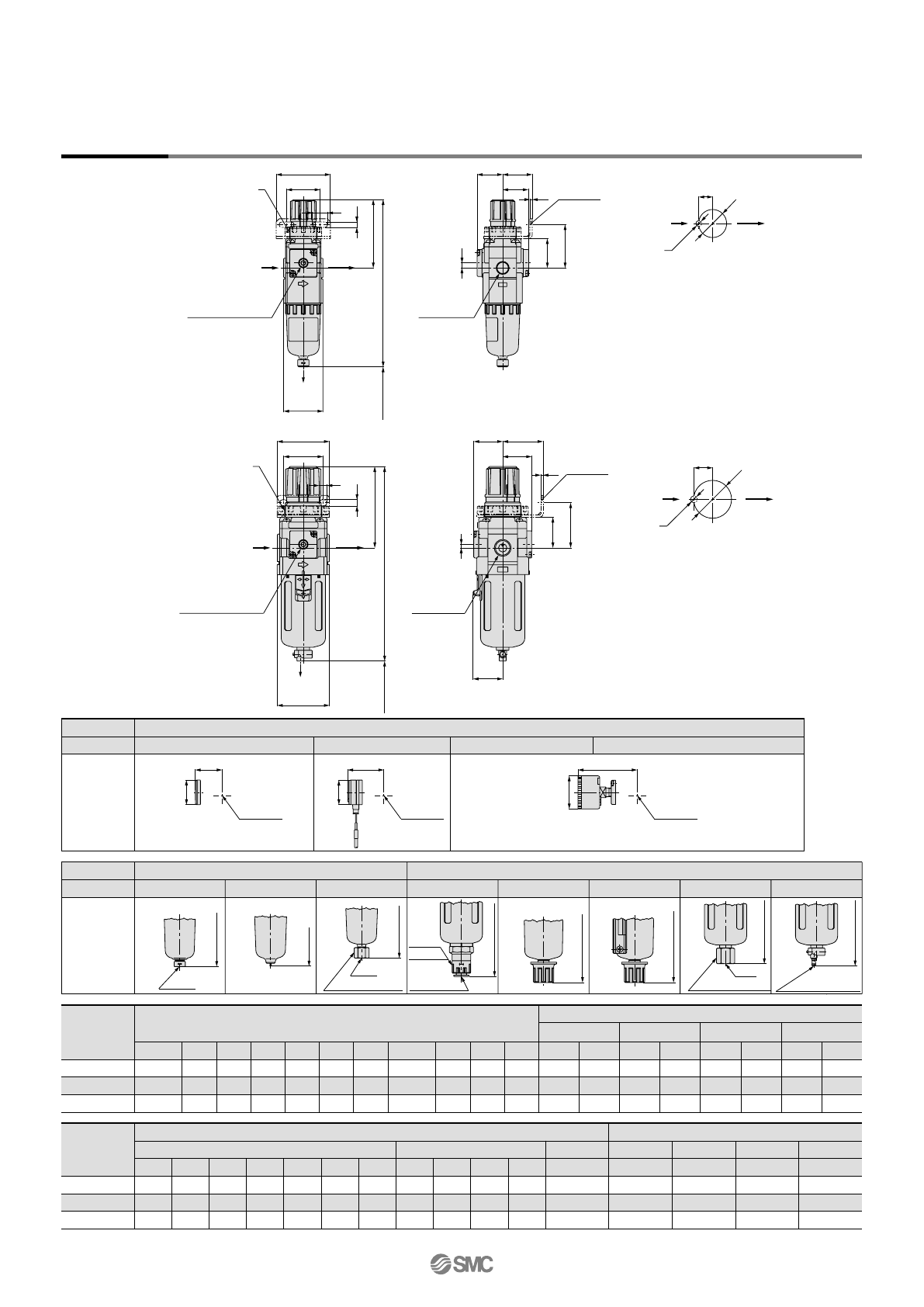
Dimensions
AWM20
AWD20
AWM30, AWM40
AWD30, AWD40
Model
Standard specifications
Optional specifications
Square type
pressure gaug
e
Digital
pressure switch
Round type
pressure gauge
P1 P2 A B
Note)
C D E G J
1/8, 1/4
1/4, 3/8
1/4, 3/8, 1/2
1/8
1/8
1/4
40
53
70
160
201
239
73
86
92
26
29.5
37.5
—
30
38
26
29.5
37.5
F
M28 x 1
M38 x 1.5
M42 x 1.5
40
55
80
K
5
3.5
1.5
H
28
28
28
J
27
30.5
38.5
H
27.8
27.8
27.8
J
37.5
41
49
Round type pressure
gauge (with colour zone)
H
ø37.5
ø37.5
ø42.5
J
63
66
76
H
ø37.5
ø37.5
ø42.5
J
63
66
76
AWM20/AWD20
AWM30/AWD30
AWM40/AWD40
Model
Optional specifications Semi-standard specifications
Bracket mount Panel mount
With auto drain
With barb fitting
With drain guide
Metal bowl
Metal bowl with
level gaug
e
M
30
41
50
N
34
40
54
Q
44
46
54
R
5.4
6.5
8.5
S
15.4
8
10.5
T
55
53
70
U
2.3
2.3
2.3
V
30
31
35.5
W
28.5
38.5
42.5
Y
14
19
21
Z
6
7
7
B
Note)
177
242
278
B
Note)
—
209
247
B
Note)
164
208
246
B
Note)
160
214
252
B
Note)
—
234
272
AWM20/AWD20
AWM30/AWD30
AWM40/AWD40
Note) The total length of B dimension is the length when the filter regulator knob is unlocked.
Digital pressure switch
Square embedded type pressure gauge
Option Round type pressure gauge
Round type pressure gauge (with colour zone)
Dimensions
Applicable model
AWM20 to AWM40, AWD20 to AWD40
J
H
Centre of
piping
J
H
Centre of
piping
J
H
Centre of
piping
With drain guide
Drain cock with barb fitting
With drain guide
Metal bowl with level gauge
With auto drain (N.O./N.C.)
Metal bowl
With auto drain (N.C.)
Optional/Semi-standard
specifications
Metal bowl
Dimensions
Applicable model
AWM20, AWD20 AWM30/40, AWD30/40
O S
M5
B
B
B
1/8
Width across flats 14
O
S
B
N.O.: Black
N.C.: Gray
ø10 one-touch
fitting
B
B
B
Width across flats 17
1/4
B
Barb fitting
Applicable tubing: T0604
OUT
O
S
O S
A
G
Y
B
C
K
R
S
D
V
U
M
Q
JT
N
W
Plate thickness
AWM20, AWD20: Max. 3.5
F
Panel fitting dimension
Z
P2
(Pressure gauge
port size)
2 x P1
(Port size)
Bracket
(Option)
Clearance for
maintenance
IN
OUT
IN
OUT
OUT
A
Y
E
G
B
C
R
S
K
D
V
N
T
U
M
Q
J
W
Panel fitting dimension
Plate thickness
AWM30, AWD30: Max. 3.5
AWM40, AWD40: Max. 5
Z
P2
(Pressure gauge
port size)
F
Clearance for
maintenance
IN
OUT
Bracket
(Option)
2 x
P1
(Port size)
IN
OUT
Drain
Drain
Series AWM20 to AWM40
Series AWD20 to AWD40
85