User Guide
Manuals
Brands
Snapper Manuals
Other
7085623
41
42
43
44
45
46
47
48
49
50
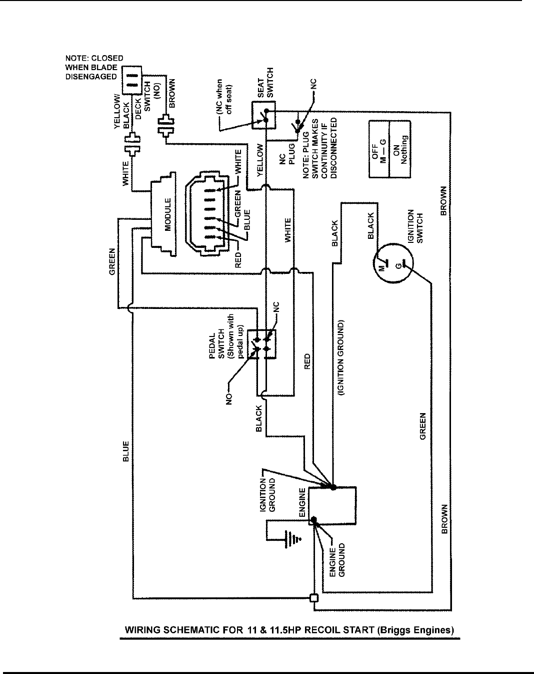
Wiring Schematic (11 & 11.
5HP Briggs Recoil Start)
Manual No.
7006278
30" STANDARD DECK
SERIES 23
48
Not for
Reproduction
1
...
...
46
47
48
49
50
...
...
56