User Guide
Manuals
Brands
Snapper Manuals
Other
7085623
41
42
43
44
45
46
47
48
49
50
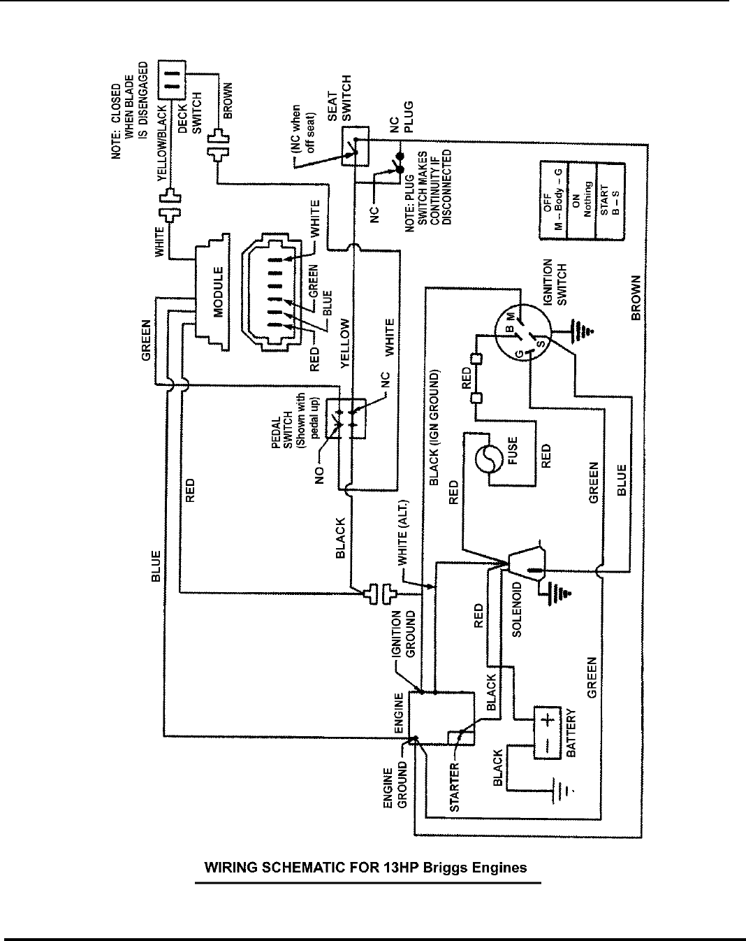
Wiring Schematic (13HP Brig
gs)
Manual No.
7006278
30" STANDARD DECK
SERIES 23
50
Not for
Reproduction
1
...
...
48
49
50
51
52
...
...
56