User Guide
Manuals
Brands
Snapper Manuals
Other
7085623
47
48
49
50
51
52
53
54
55
56
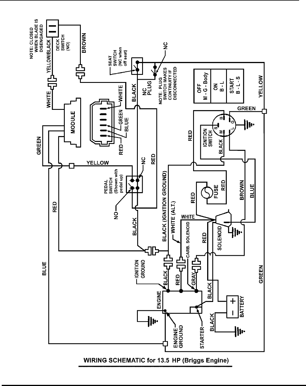
Wiring Schematic (13.5HP Briggs)
Manual No.
7006278
30" STANDARD DECK
SERIES 23
52
Not for
Reproduction
1
...
...
50
51
52
53
54
55
...
56