Instruction Manual

Chapter 2: Installation
2-5
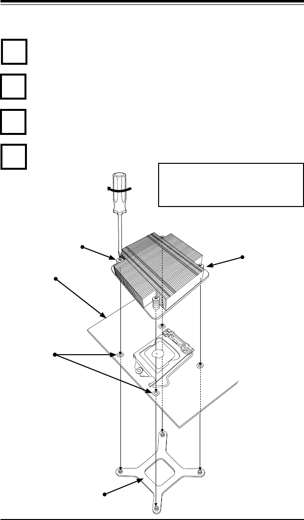
Do not apply any thermal grease to the heatsink or the CPU die -- the required
amount has already been applied.
Installing a Passive CPU Heatsink
Screw#1
Screw#2
Motherboard
Mounting
Holes
Finish the installation by fully tightening all four screws.
Screw in two diagonal screws (i.e., the #1 and the #2 screws) until just snug
(do not over-tighten the screws to avoid possible damage to the CPU.)
Place the heatsink on top of the CPU so that the four mounting holes are
aligned with those on the Motherboard's and the Heatsink Bracket under-
neath.
1
2
3
4
Heatsink Bracket
Recommended Supermicro heatsink:
SNK-P0046P heatsink with BKT-0028L
bottom bracket










