User`s guide

2-18
SC513 Chassis User’s Guide
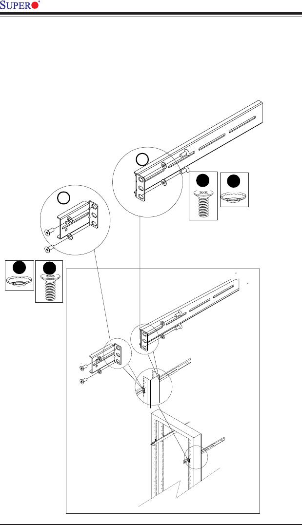
3. Attach the front (-short) bracket to the front end of the rack, and secure it to
the rack with two Type H screws and Type I washers as shown below.
4. Attach the rear (-long) bracket to the rear end of the rack, and secure it to
the rack with two Type H screws and Type I washers as shown below. Repeat
the same steps to install the other outer rail to the other side of rack.
4
3
I
H
H
I










