
2-19
Chapter 2: Chassis Description and Installation Instructions
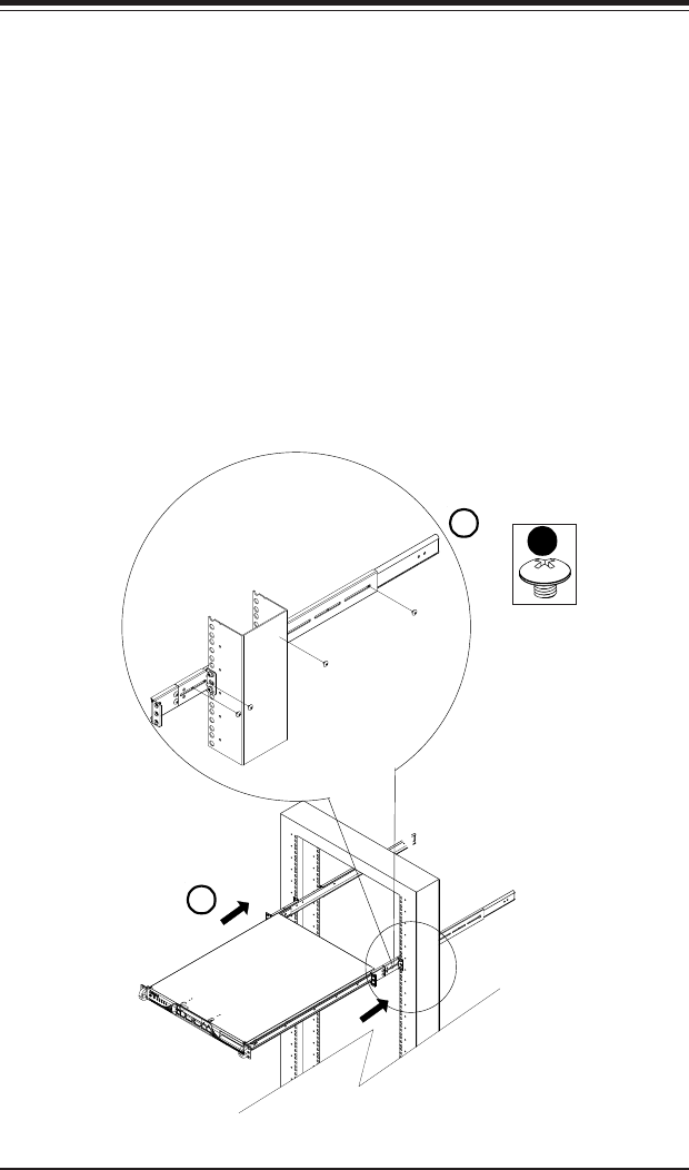
5. Measure the depth of your rack and adjust the length of the rails accordingly.
Then, secure the rails to the chassis with Type G screws.
6. Slide the inner rails which are attached to the chassis into the outer rails on
the rack.
6
5
G