User's Manual (1.0b)

E-19
Appendix E SAS2-216EL1/EL2 Backplane Specications
CBL-0167L
with Single Port Assembly
(Internal cable)
CBL-0166L
(External cable)
HBA
Port B Expander 2
Power Card
Port B Expander 2
Port A Expander 1
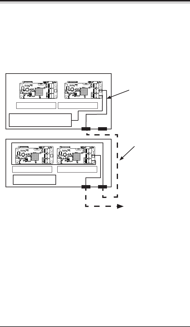
Connecting Multiple Backplanes in a Single Channel
Environment
This section describes the cables used when cascading from a single HBA. These
connections use CBL-0167L internal cables and CBL-0166L external cables.
FigureE-17:SingleHBAConguration
Port A Expander 1
MH4
MH3
MH2
MH1
R159
R157
R158
R161
BCA534
BCA236
BCA234
1
MDIOINTERFACE
U320
ACT0
A
C
L37
18
U16
U326
16
17
32
33
48
49
64
L396
1 4
SMART_UART
14
EXPDBG1
Y9
Q3
PRI_MODE2
1
3
PRI_MODE1
1
3
Q1
PRI_J3
PRI_J2
PRI_J1
P_ICE_RTCK
P_ICE_TCK
P_ICE_TDO
2
1
J2
+
EC6
+
C2926
+
+
EC5
+
EC2
+
EC1
+
EC3
+
C862
+
C861
+
C860
+
+
C858
+
5
Y
E
20
R
K
10 15
AE
25 28
AH
WWN
BAR CODE
1.02
REV:
BPN-SAS2-216EL
MACH FINISH
30
ANGLE
SPECIFIED DIMENSIONS
UNLESS OTHERWISE
XXX
XX
X
.010
.03
.1
TOLERANCES
DECIMAL
ARE IN INCHES
Minh Hong/Max
DESIGNER:
DATE: 12/03/2009
PROJECT NAME:
SAN JOSE,CA 95131
DESIGNED BY SUPERMICRO U.S.A.
www.supermicro.com
TEL:408-503-8000 FAX:408-503-8008
SILKSCREEN
PRIMARY-SIDE
S
UPER
R
S
UPER
S
UPER
S
UPER
S
UPER
S
UPER
S
UPER
S
UPER
S
UPER
S
UPER
S
UPER
S
UPER
S
UPER
S
UPER
S
UPER
S
UPER
S
UPER
S
UPER
RRRRRRRRRR
A
A
DESIGNED IN USA
Rev:1.02
BPN-SAS2-216EL
MH4
MH3
MH2
MH1
R159
R157
R158
R161
BCA534
BCA236
BCA234
1
MDIOINTERFACE
U320
ACT0
A
C
L37
18
U16
U326
16
17
32
33
48
49
64
L396
1 4
SMART_UART
14
EXPDBG1
Y9
Q3
PRI_MODE2
1
3
PRI_MODE1
1
3
Q1
PRI_J3
PRI_J2
PRI_J1
P_ICE_RTCK
P_ICE_TCK
P_ICE_TDO
2
1
J2
+
EC6
+
C2926
+
+
EC5
+
EC2
+
EC1
+
EC3
+
C862
+
C861
+
C860
+
+
C858
+
5
Y
E
20
R
K
10 15
AE
25 28
AH
WWN
BAR CODE
1.02
REV:
BPN-SAS2-216EL
MACH FINISH
30
ANGLE
SPECIFIED DIMENSIONS
UNLESS OTHERWISE
XXX
XX
X
.010
.03
.1
TOLERANCES
DECIMAL
ARE IN INCHES
Minh Hong/Max
DESIGNER:
DATE: 12/03/2009
PROJECT NAME:
SAN JOSE,CA 95131
DESIGNED BY SUPERMICRO U.S.A.
www.supermicro.com
TEL:408-503-8000 FAX:408-503-8008
SILKSCREEN
PRIMARY-SIDE
S
UPER
R
S
UPER
S
UPER
S
UPER
S
UPER
S
UPER
S
UPER
S
UPER
S
UPER
S
UPER
S
UPER
S
UPER
S
UPER
S
UPER
S
UPER
S
UPER
S
UPER
S
UPER
RRRRRRRRRR
A
A
DESIGNED IN USA
Rev:1.02
BPN-SAS2-216EL
MH4
MH3
MH2
MH1
R159
R157
R158
R161
BCA534
BCA236
BCA234
1
MDIOINTERFACE
U320
ACT0
A
C
L37
18
U16
U326
16
17
32
33
48
49
64
L396
1 4
SMART_UART
14
EXPDBG1
Y9
Q3
PRI_MODE2
1
3
PRI_MODE1
1
3
Q1
PRI_J3
PRI_J2
PRI_J1
P_ICE_RTCK
P_ICE_TCK
P_ICE_TDO
2
1
J2
+
EC6
+
C2926
+
+
EC5
+
EC2
+
EC1
+
EC3
+
C862
+
C861
+
C860
+
+
C858
+
5
Y
E
20
R
K
10 15
AE
25 28
AH
WWN
BAR CODE
1.02
REV:
BPN-SAS2-216EL
MACH FINISH
30
ANGLE
SPECIFIED DIMENSIONS
UNLESS OTHERWISE
XXX
XX
X
.010
.03
.1
TOLERANCES
DECIMAL
ARE IN INCHES
Minh Hong/Max
DESIGNER:
DATE: 12/03/2009
PROJECT NAME:
SAN JOSE,CA 95131
DESIGNED BY SUPERMICRO U.S.A.
www.supermicro.com
TEL:408-503-8000 FAX:408-503-8008
SILKSCREEN
PRIMARY-SIDE
S
UPER
R
S
UPER
S
UPER
S
UPER
S
UPER
S
UPER
S
UPER
S
UPER
S
UPER
S
UPER
S
UPER
S
UPER
S
UPER
S
UPER
S
UPER
S
UPER
S
UPER
S
UPER
RRRRRRRRRR
A
A
DESIGNED IN USA
Rev:1.02
BPN-SAS2-216EL
MH4
MH3
MH2
MH1
R159
R157
R158
R161
BCA534
BCA236
BCA234
1
MDIOINTERFACE
U320
ACT0
A
C
L37
18
U16
U326
16
17
32
33
48
49
64
L396
1 4
SMART_UART
14
EXPDBG1
Y9
Q3
PRI_MODE2
1
3
PRI_MODE1
1
3
Q1
PRI_J3
PRI_J2
PRI_J1
P_ICE_RTCK
P_ICE_TCK
P_ICE_TDO
2
1
J2
+
EC6
+
C2926
+
+
EC5
+
EC2
+
EC1
+
EC3
+
C862
+
C861
+
C860
+
+
C858
+
5
Y
E
20
R
K
10 15
AE
25 28
AH
WWN
BAR CODE
1.02
REV:
BPN-SAS2-216EL
MACH FINISH
30
ANGLE
SPECIFIED DIMENSIONS
UNLESS OTHERWISE
XXX
XX
X
.010
.03
.1
TOLERANCES
DECIMAL
ARE IN INCHES
Minh Hong/Max
DESIGNER:
DATE: 12/03/2009
PROJECT NAME:
SAN JOSE,CA 95131
DESIGNED BY SUPERMICRO U.S.A.
www.supermicro.com
TEL:408-503-8000 FAX:408-503-8008
SILKSCREEN
PRIMARY-SIDE
S
UPER
R
S
UPER
S
UPER
S
UPER
S
UPER
S
UPER
S
UPER
S
UPER
S
UPER
S
UPER
S
UPER
S
UPER
S
UPER
S
UPER
S
UPER
S
UPER
S
UPER
S
UPER
RRRRRRRRRR
A
A
DESIGNED IN USA
Rev:1.02
BPN-SAS2-216EL










