User manual
Table Of Contents
- 1. About This Manual
- 2. General Information
- 3. Installation
- 3.1 Performing the Installation
- Step 1. Unpacking the StorageLoader
- Step 2. Installing the StorageLoader in a Rack
- Installing the Rack Mounting Kit
- Installing the “Rail Left Assembly”
- Installing the “Rail Right Assembly”
- Mounting the StorageLoader to the Rack
- How to dismount the StorageLoader from the rack
- Step 3. Connecting Power Cable
- Step 4. Removing the Transport Lock
- Step 5. Running Power-On Selftest
- Step 6. Setting the SCSI Address
- Step 7. Connecting the SCSI Bus Cable
- Step 8. Connecting the Ethernet Connector
- Step 9. Restarting Your System
- Step 10. BCR: Labelling of cartridges
- Step 1. Unpacking the StorageLoader
- 3.1 Performing the Installation
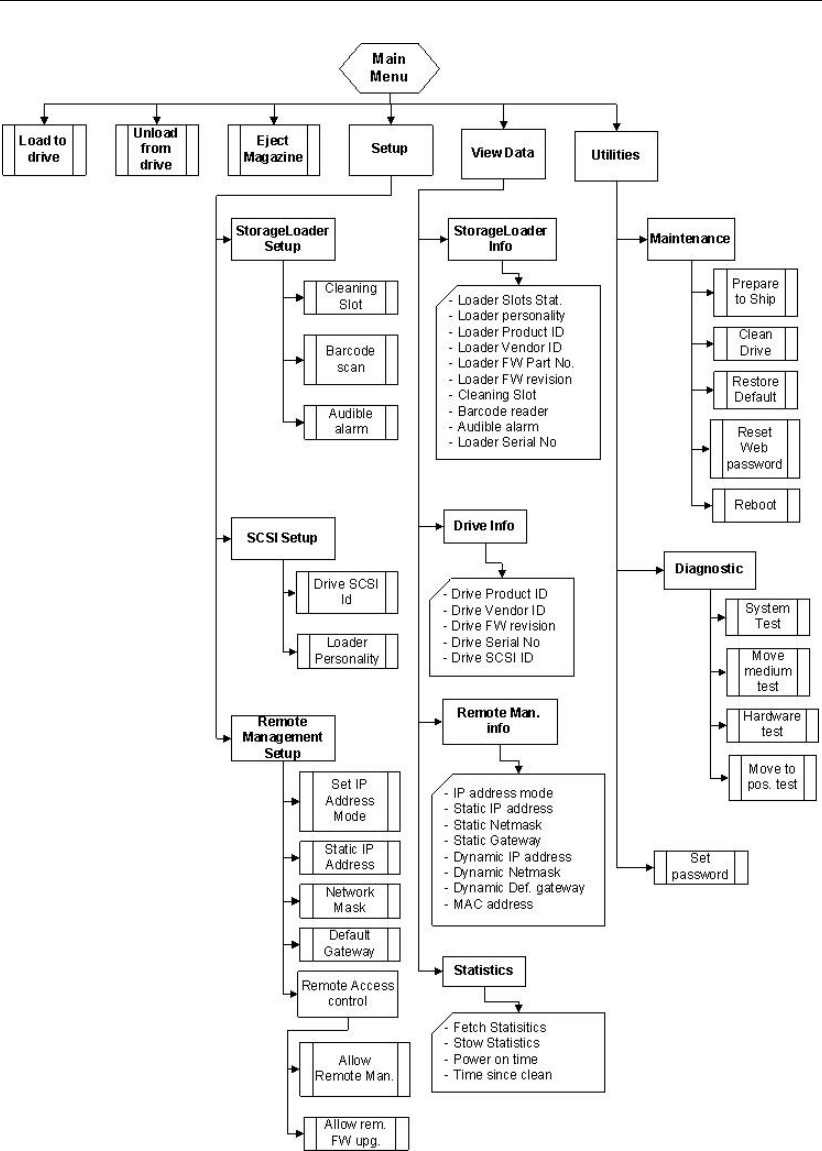
- 4. Operation and Configuration
- 1.
- 5. Remote Management
- 6. Maintenance
- 7. Troubleshooting
- Appendix A – Specifications
- Appendix B – Spare parts/Accessories
- Appendix C – Field Replacement Units (FRUs)