Datasheet
Table Of Contents

LM2665
www.ti.com
SNVS009F –NOVEMBER 1999–REVISED MAY 2013
LM2665 Switched Capacitor Voltage Converter
Check for Samples: LM2665
1
FEATURES
DESCRIPTION
The LM2665 CMOS charge-pump voltage converter
2
• Doubles or Splits Input Supply Voltage
operates as a voltage doubler for an input voltage in
• 6-Pin SOT-23 Package
the range of +2.5V to +5.5V. Two low cost capacitors
• 12Ω Typical Output Impedance
and a diode (needed during start-up) are used in this
circuit to provide up to 40 mA of output current. The
• 90% Typical Conversion Efficiency at 40 mA
LM2665 can also work as a voltage divider to split a
• 1µA Typical Shutdown Current
voltage in the range of +1.8V to +11V in half.
The LM2665 operates at 160 kHz oscillator frequency
APPLICATIONS
to reduce output resistance and voltage ripple. With
• Cellular Phones
an operating current of only 650 µA (operating
• Pagers
efficiency greater than 90% with most loads) and 1µA
typical shutdown current, the LM2665 provides ideal
• PDAs
performance for battery powered systems. The
• Operational Amplifier Power Suppliers
device is in a SOT-23 package.
• Interface Power Suppliers
• Handheld Instruments
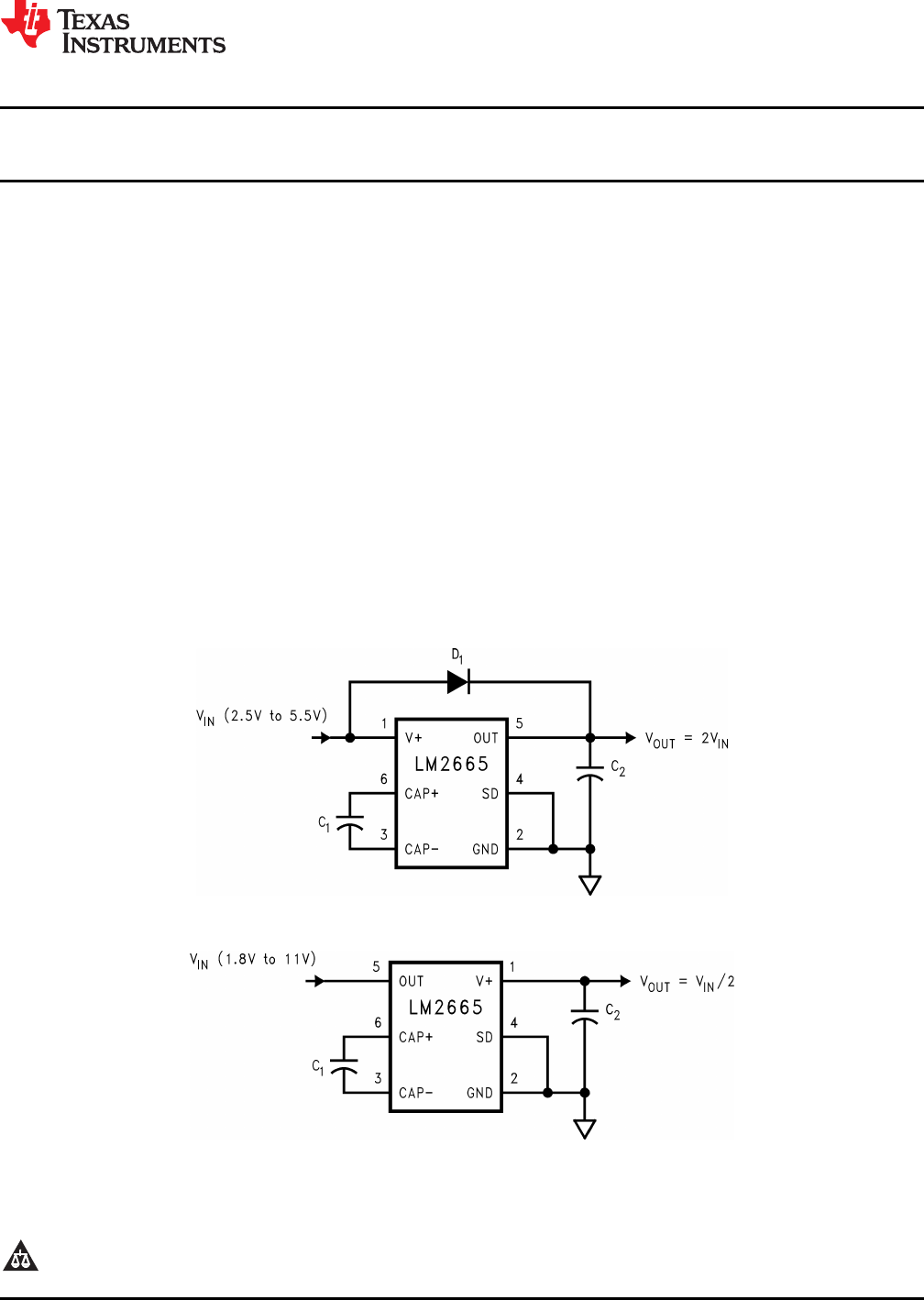
Basic Application Circuits
Voltage Doubler
Splitting V
in
in Half
1
Please be aware that an important notice concerning availability, standard warranty, and use in critical applications of
Texas Instruments semiconductor products and disclaimers thereto appears at the end of this data sheet.
2All trademarks are the property of their respective owners.
PRODUCTION DATA information is current as of publication date.
Copyright © 1999–2013, Texas Instruments Incorporated
Products conform to specifications per the terms of the Texas
Instruments standard warranty. Production processing does not
necessarily include testing of all parameters.