Datasheet
Table Of Contents

LM3525
www.ti.com
SNVS051D –FEBRUARY 2000–REVISED MARCH 2013
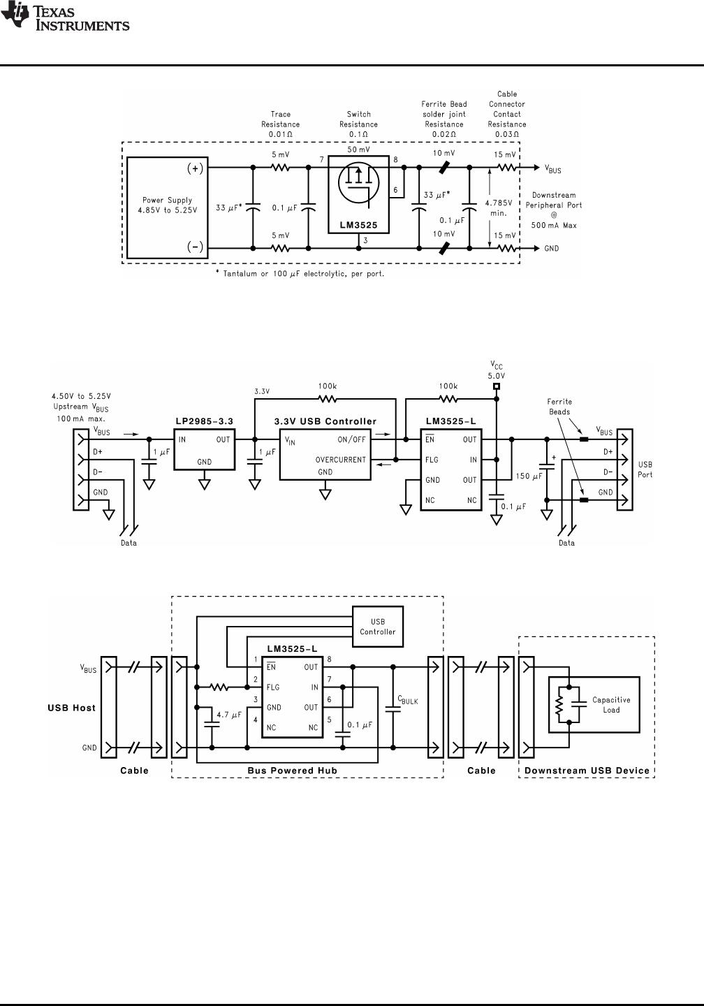
Figure 15. Self-Powered Hub Per-Port Voltage Drop
Typical Applications
Figure 16. SIngle-Port USB Self-Powered Hub
Figure 17. Soft-Start Application
Copyright © 2000–2013, Texas Instruments Incorporated Submit Documentation Feedback 9
Product Folder Links: LM3525










