Datasheet

LM86
www.ti.com
SNIS114E DECEMBER 2001REVISED MARCH 2013
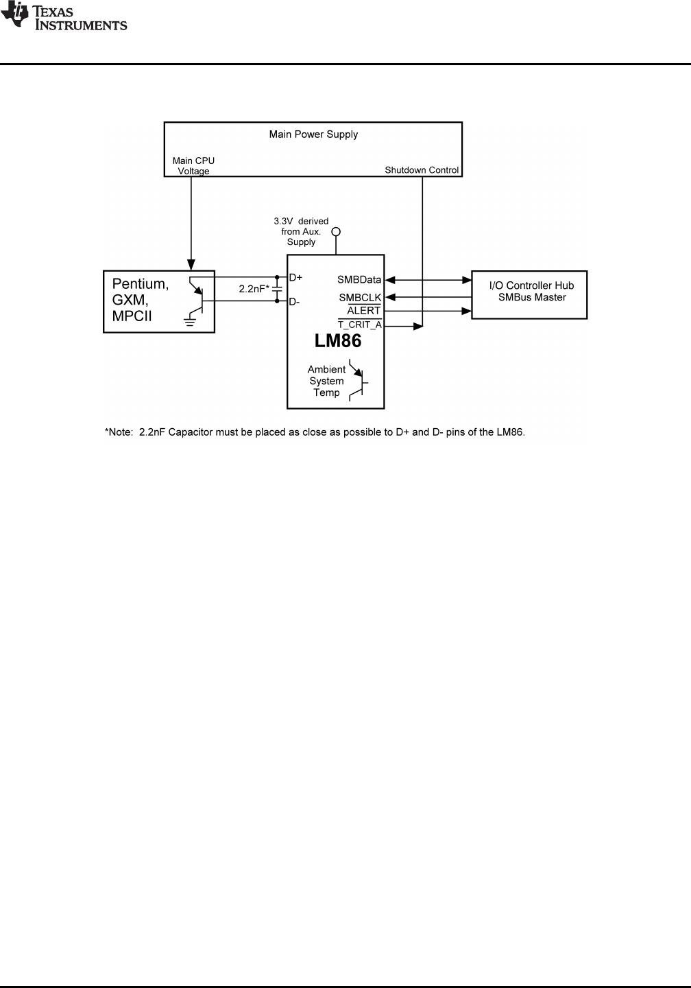
Typical Application
Copyright © 2001–2013, Texas Instruments Incorporated Submit Documentation Feedback 3
Product Folder Links: LM86