Datasheet
Table Of Contents

LMC6044
SNOS612D –NOVEMBER 1994–REVISED MARCH 2013
www.ti.com
(V+ = 5.0 V
DC
)
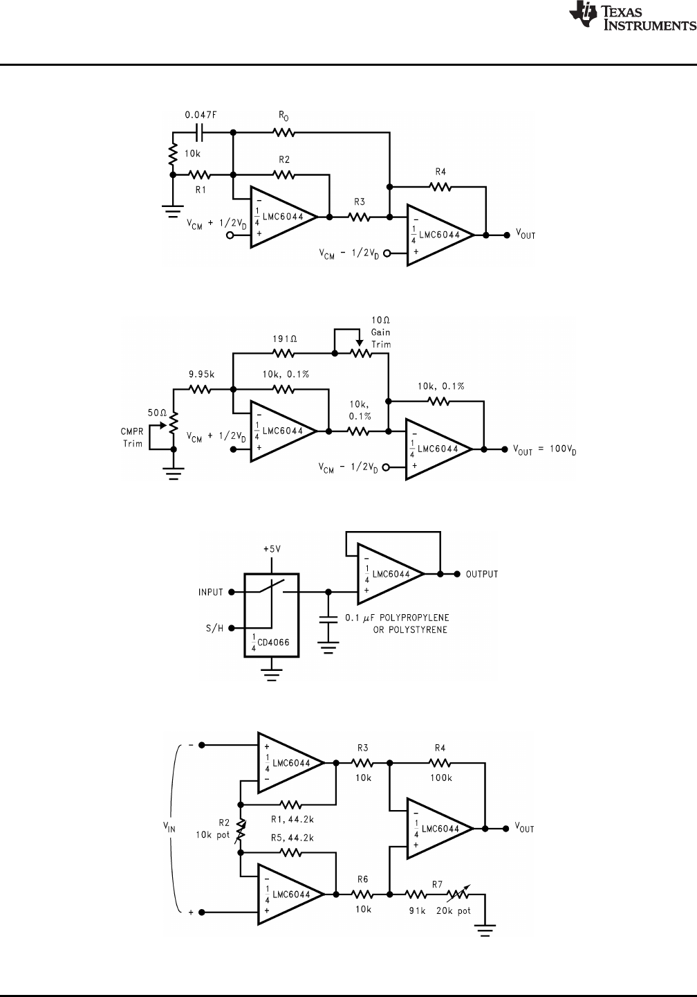
Figure 35. Two Op-Amp Instrumentation Amplifier
Figure 36. Low-Power Two-Op-Amp Instrumentation Amplifier
Figure 37. Low-Leakage Sample-and-Hold
Figure 38. Instrumentation Amplifier
14 Submit Documentation Feedback Copyright © 1994–2013, Texas Instruments Incorporated
Product Folder Links: LMC6044










