Datasheet
Table Of Contents

LMC6044
www.ti.com
SNOS612D –NOVEMBER 1994–REVISED MARCH 2013
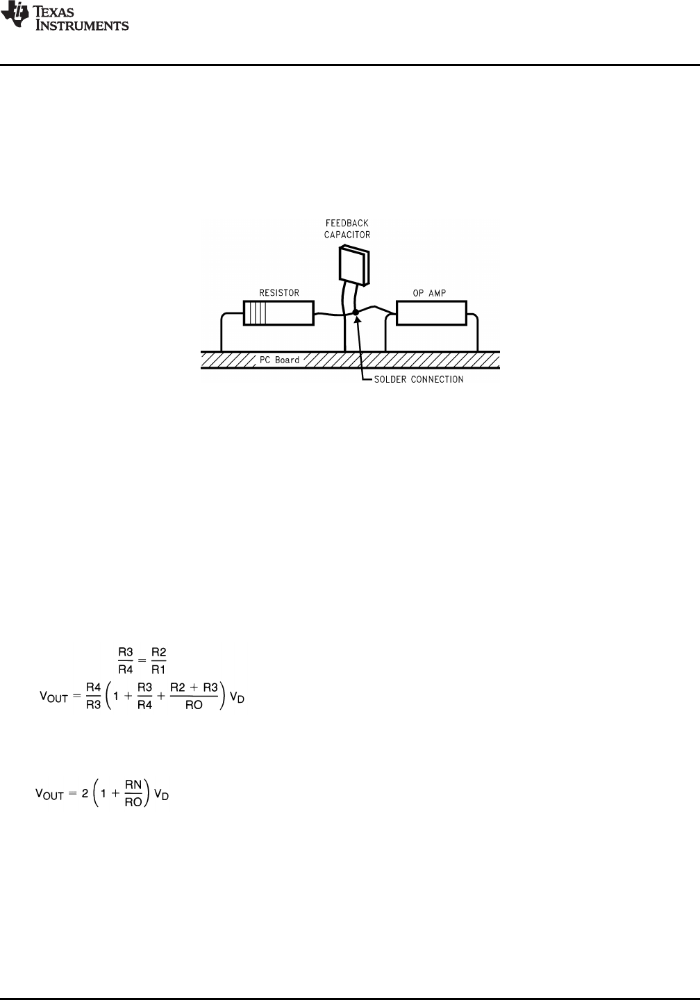
The designer should be aware that when it is inappropriate to lay out a PC board for the sake of just a few
circuits, there is another technique which is even better than a guard ring on a PC board: Don't insert the
amplifier's input pin into the board at all, but bend it up in the air and use only air as an insulator. Air is an
excellent insulator. In this case you may have to forego some of the advantages of PC board construction, but
the advantages are sometimes well worth the effort of using point-to-point up-in-the-air wiring. See Figure 34.
Typical Single-Supply Applications
(V+ = 5.0 V
DC
)
(Input pins are lifted out of PC board and soldered directly to components. All other pins connected to PC board.)
Figure 34. Air Wiring
The extremely high input impedance, and low power consumption, of the LMC6044 make it ideal for applications
that require battery-powered instrumentation amplifiers. Examples of these type of applications are hand-held pH
probes, analytic medical instruments, magnetic field detectors, gas detectors, and silicon based pressure
transducers.
The circuit in Figure 35 is recommended for applications where the common-mode input range is relatively low
and the differential gain will be in the range of 10 to 1000. This two op-amp instrumentation amplifier features an
independent adjustment of the gain and common-mode rejection trim, and a total quiescent supply current of less
than 40 μA. To maintain ultra-high input impedance, it is advisable to use ground rings and consider PC board
layout an important part of the overall system design (see PRINTED-CIRCUIT-BOARD LAYOUT FOR HIGH-
IMPEDANCE WORK). Referring to Figure 35, the input voltages are represented as a common-mode input V
CM
plus a differential input V
D
. Rejection of the common-mode component of the input is accomplished by making
the ratio of R1/R2 equal to R3/R4. So that where,
(3)
A suggested design guideline is to minimize the difference of value between R1 through R4. This will often result
in improved resistor tempco, amplifier gain, and CMRR over temperature. If RN = R1 = R2 = R3 = R4 then the
gain equation can be simplified:
(4)
Due to the “zero-in, zero-out” performance of the LMC6044, and output swing rail-rail, the dynamic range is only
limited to the input common-mode range of 0V to V
S
–2.3V, worst case at room temperature. This feature of the
LMC6044 makes it an ideal choice for low-power instrumentation systems.
A complete instrumentation amplifier designed for a gain of 100 is shown in Figure 36. Provisions have been
made for low sensitivity trimming of CMRR and gain.
Copyright © 1994–2013, Texas Instruments Incorporated Submit Documentation Feedback 13
Product Folder Links: LMC6044










