Datasheet

LMC6482
SNOS674D NOVEMBER 1997REVISED MARCH 2013
www.ti.com
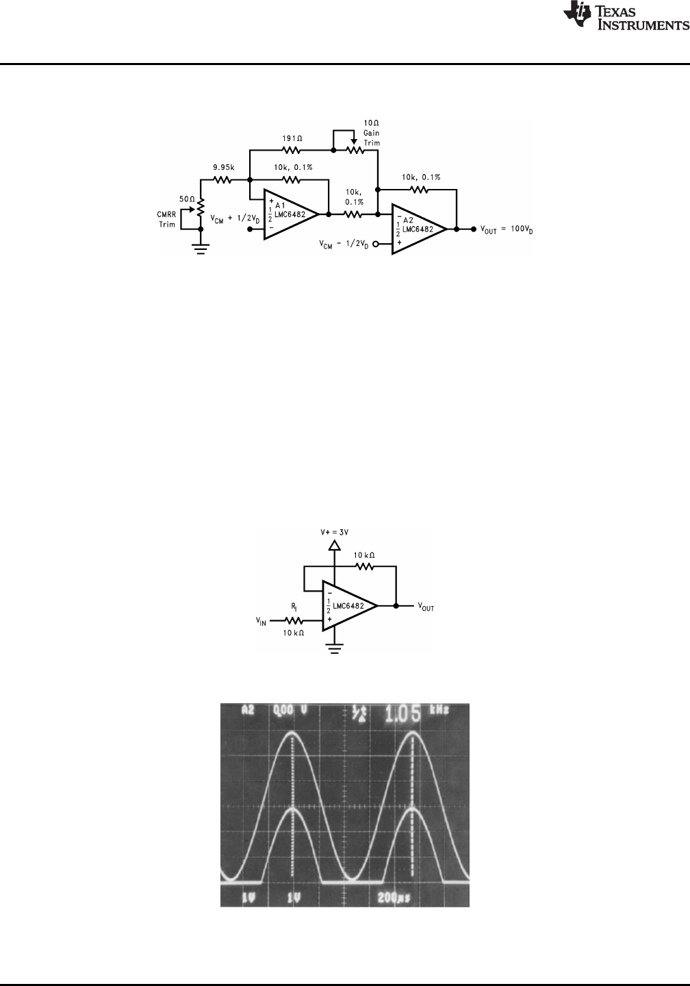
Higher frequency and larger common-mode range applications are best facilitated by a three op-amp
instrumentation amplifier.
Figure 73. Low-Power Two-Op-Amp Instrumentation Amplifier
SPICE MACROMODEL
A spice macromodel is available for the LMC6482. This model includes accurate simulation of:
Input common-mode voltage range
Frequency and transient response
GBW dependence on loading conditions
Quiescent and dynamic supply current
Output swing dependence on loading conditions
and many more characteristics as listed on the macromodel disk.
Contact your local Texas Instruments sales office to obtain an operational amplifier spice model library disk.
Typical Single-Supply Applications
Figure 74. Half-Wave Rectifier with Input Current Protection (R
I
)
Figure 75. Half-Wave Rectifier Waveform
24 Submit Documentation Feedback Copyright © 1997–2013, Texas Instruments Incorporated
Product Folder Links: LMC6482