Datasheet
Table Of Contents
- FEATURES
- APPLICATIONS
- DESCRIPTION
- Absolute Maximum Ratings
- Operating Ratings
- DC Electrical Characteristics
- AC Electrical Characteristics
- DC Electrical Characteristics
- AC Electrical Characteristics
- Typical Performance Characteristics
- Application Information
- AMPLIFIER TOPOLOGY
- INPUT COMMON-MODE VOLTAGE RANGE
- RAIL-TO-RAIL OUTPUT
- CAPACITIVE LOAD TOLERANCE
- COMPENSATING FOR INPUT CAPACITANCE
- PRINTED-CIRCUIT-BOARD LAYOUT FOR HIGH-IMPEDANCE WORK
- OFFSET VOLTAGE ADJUSTMENT
- UPGRADING APPLICATIONS
- DATA ACQUISITION SYSTEMS
- INSTRUMENTATION CIRCUITS
- SPICE MACROMODEL
- Typical Single-Supply Applications
- Revision History

LMC6482
SNOS674D –NOVEMBER 1997–REVISED MARCH 2013
www.ti.com
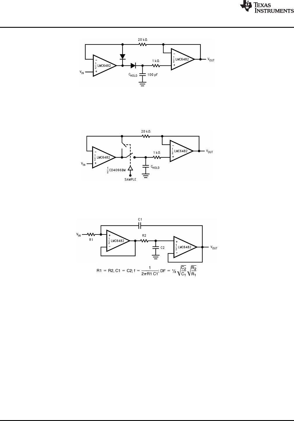
Figure 80. Low Voltage Peak Detector with Rail-to-Rail Peak Capture Range
In Figure 80 dielectric absorption and leakage is minimized by using a polystyrene or polyethylene hold
capacitor. The droop rate is primarily determined by the value of C
H
and diode leakage current. The ultra-low
input current of the LMC6482 has a negligible effect on droop.
Figure 81. Rail-to-Rail Sample and Hold
The LMC6482's high CMRR (82dB) allows excellent accuracy throughout the circuit's rail-to-rail dynamic capture
range.
Figure 82. Rail-to-Rail Single Supply Low Pass Filter
The low pass filter circuit in Figure 82 can be used as an anti-aliasing filter with the same voltage supply as the
A/D converter.
Filter designs can also take advantage of the LMC6482 ultra-low input current. The ultra-low input current yields
negligible offset error even when large value resistors are used. This in turn allows the use of smaller valued
capacitors which take less board space and cost less.
26 Submit Documentation Feedback Copyright © 1997–2013, Texas Instruments Incorporated
Product Folder Links: LMC6482










