Datasheet
Table Of Contents
- FEATURES
- APPLICATIONS
- DESCRIPTION
- Absolute Maximum Ratings
- Operating Ratings
- DC Electrical Characteristics
- AC Electrical Characteristics
- DC Electrical Characteristics
- AC Electrical Characteristics
- Typical Performance Characteristics
- Application Information
- AMPLIFIER TOPOLOGY
- INPUT COMMON-MODE VOLTAGE RANGE
- RAIL-TO-RAIL OUTPUT
- CAPACITIVE LOAD TOLERANCE
- COMPENSATING FOR INPUT CAPACITANCE
- PRINTED-CIRCUIT-BOARD LAYOUT FOR HIGH-IMPEDANCE WORK
- OFFSET VOLTAGE ADJUSTMENT
- UPGRADING APPLICATIONS
- DATA ACQUISITION SYSTEMS
- INSTRUMENTATION CIRCUITS
- SPICE MACROMODEL
- Typical Single-Supply Applications
- Revision History

LMC6482
SNOS674D –NOVEMBER 1997–REVISED MARCH 2013
www.ti.com
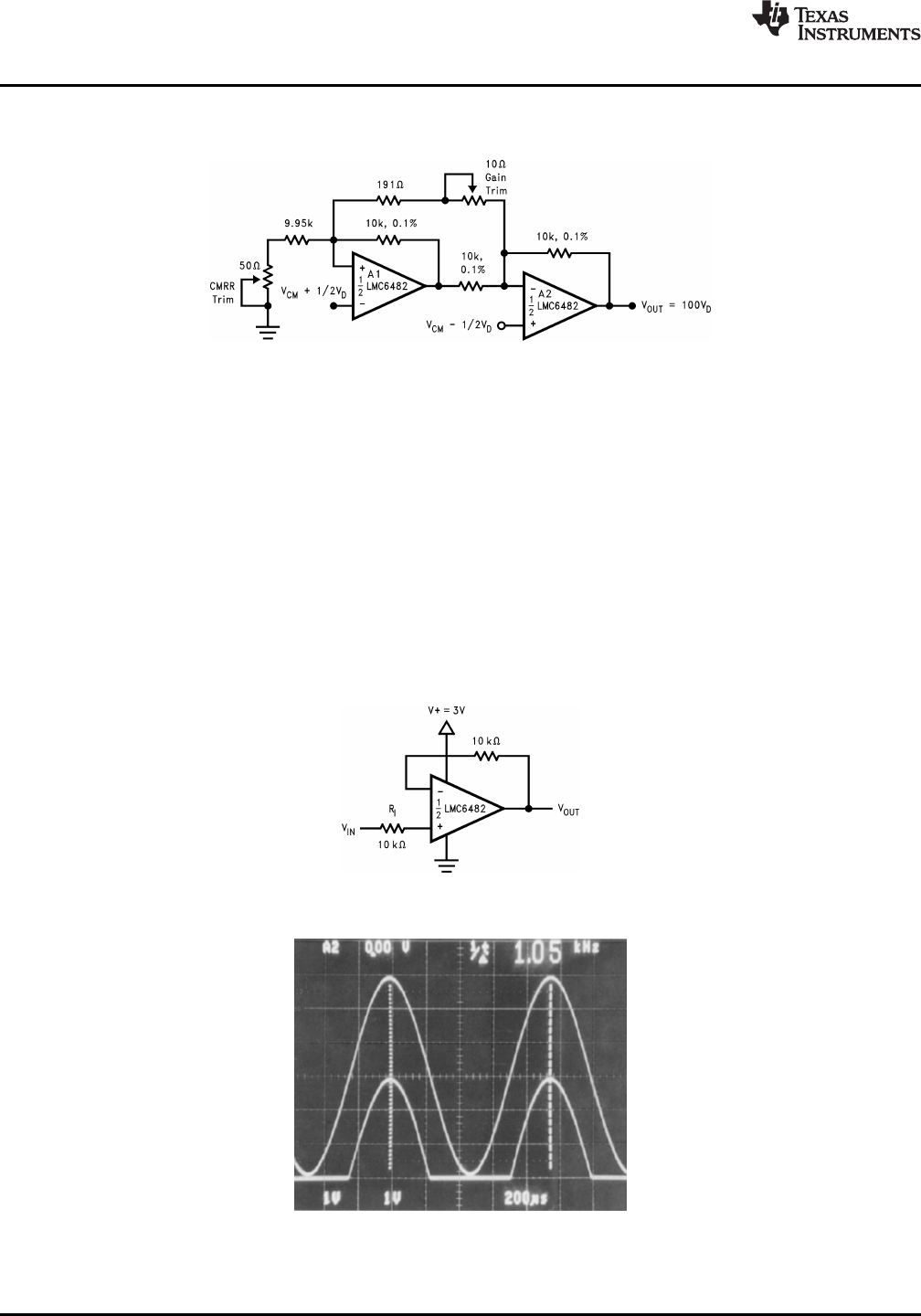
Higher frequency and larger common-mode range applications are best facilitated by a three op-amp
instrumentation amplifier.
Figure 73. Low-Power Two-Op-Amp Instrumentation Amplifier
SPICE MACROMODEL
A spice macromodel is available for the LMC6482. This model includes accurate simulation of:
• Input common-mode voltage range
• Frequency and transient response
• GBW dependence on loading conditions
• Quiescent and dynamic supply current
• Output swing dependence on loading conditions
and many more characteristics as listed on the macromodel disk.
Contact your local Texas Instruments sales office to obtain an operational amplifier spice model library disk.
Typical Single-Supply Applications
Figure 74. Half-Wave Rectifier with Input Current Protection (R
I
)
Figure 75. Half-Wave Rectifier Waveform
24 Submit Documentation Feedback Copyright © 1997–2013, Texas Instruments Incorporated
Product Folder Links: LMC6482










